E
EPC Data

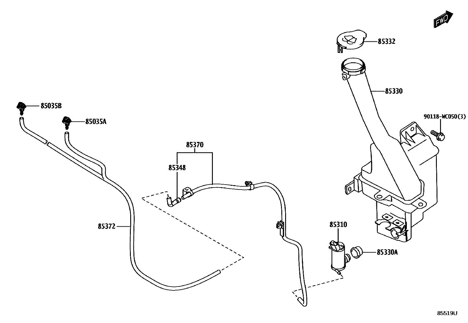
WINDSHIELD WASHER

Parts diagram
85035ANOZZLE, FR WASHER, RH
main85381-WC009i202404
85035BNOZZLE, FRONT WASHER, LH
main85381-WC008i202404
85310MOTOR AND PUMP ASSY, WINDSHIELD WASHER
main85330-WC004i202404
85330JAR ASSY, WINDSHIELD WASHER
main85330-WC022i202404
POS.10; POS.11; POS.12; POS.13; POS.14; POS.15; POS.16; POS.17; POS.18; POS.19; POS.20; POS.25; POS.26; POS.27; POS.28; POS.29; POS.30; POS.31; POS.32; POS.33; POS.34; POS.35; POS.36; POS.37; POS.38; POS.39; POS.40; POS.5; POS.6; POS.7; POS.8; POS.9
main85330-WC023i202404
POS.1; POS.2; POS.21; POS.22; POS.23; POS.24; POS.3; POS.4
85330ABUSH, WINDSHIELD WASHER JAR
main85336-WC002i202404
85332CAP, WINDSHIELD WASHER JAR
main85316-WC004i202404
85348JOINT, WINDSHIELD WASHER HOSE, NO.1
main85355-WC004i202404
85370HOSE ASSY, WINDSHIELD WASHER
main85370-WC001i202404
POS.10; POS.11; POS.12; POS.13; POS.14; POS.15; POS.16; POS.17; POS.18; POS.19; POS.20; POS.25; POS.26; POS.27; POS.28; POS.29; POS.30; POS.31; POS.32; POS.33; POS.34; POS.35; POS.36; POS.37; POS.38; POS.39; POS.40; POS.5; POS.6; POS.7; POS.8; POS.9
main85370-WC002i202404
POS.1; POS.2; POS.21; POS.22; POS.23; POS.24; POS.3; POS.4
85372HOSE, WINDSHIELD WASHER (FROM JOINT TO JOINT), NO.1
main90118-WCG47i202404
90118WC050

10 parts on this diagram · 2 diagrams in section

WINDSHIELD WASHER — Toyota Parts Diagram with OEM Numbers & Prices | EPC Data