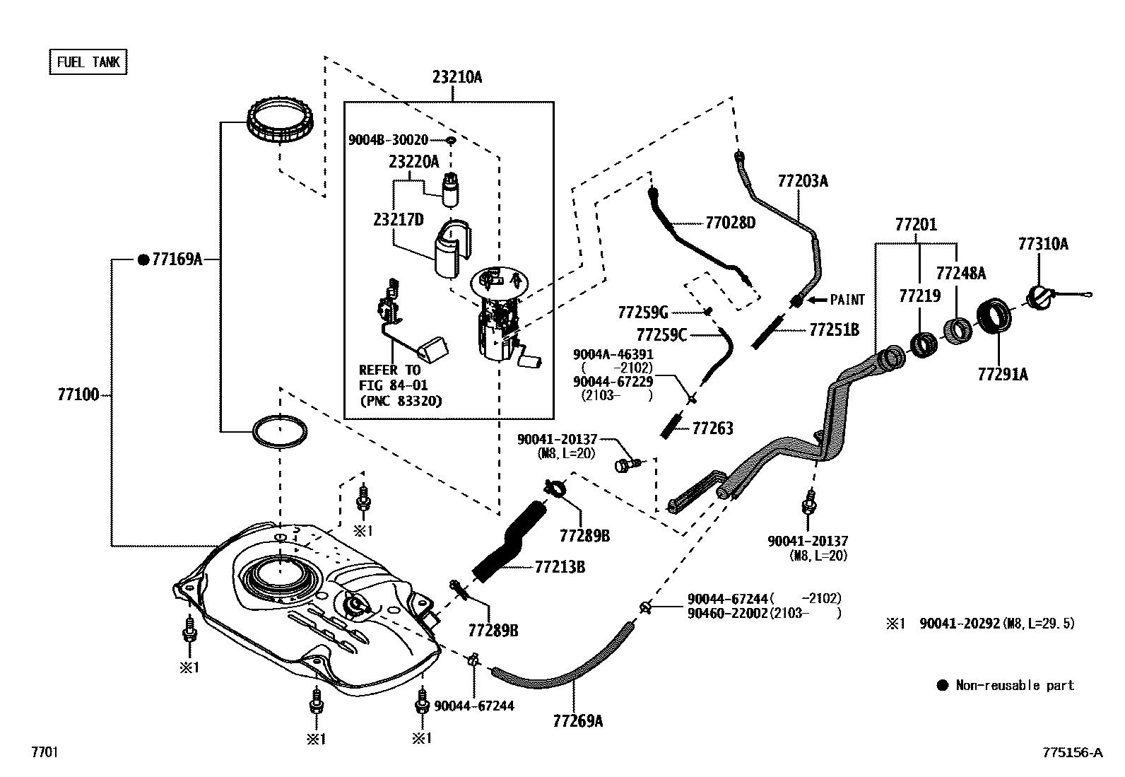
FUEL TANK & TUBE

23210APUMP ASSY, FUEL W/MOTOR & BRACKET
23217DFILTER, FUEL PUMP
23220APUMP ASSY, FUEL W/FILTER
77028DTUBE SUB-ASSY, FUEL EMISSION, REAR
77100TANK ASSY, FUEL
77169AGASKET, FUEL SUCTION TUBE SET
77201PIPE SUB-ASSY, FUEL TANK INLET
77203ATUBE SUB-ASSY, FUEL SUCTION
77213BHOSE, FUEL TANK TO FILLER PIPE
77219COVER, FUEL TANK FILLER PIPE
77248AHOLDER, FUEL TANK FILLER PIPE COVER
77251BTUBE, FUEL MAIN
77259CHOSE, FUEL
77259GCLIP, FUEL HOSE
77263TUBE, FUEL TANK TO CANISTER, NO.3
77269AHOSE, FUEL TANK BREATHER
77289BCLAMP, FUEL TUBE, NO.3
77291ASHIELD, FUEL TANK FILLER PIPE
77310ACAP ASSY, FUEL TANK
8401SWITCH & RELAY & COMPUTER
9004120137
main90041-20137
9004120292
main90041-20292
9004467229
main90044-67229
9004467244
main90044-67244
9004A46391
main9004A-46391
9004B30020
main9004B-30020
9046022002
main90460-22002
27 parts on this diagram · 3 diagrams in section