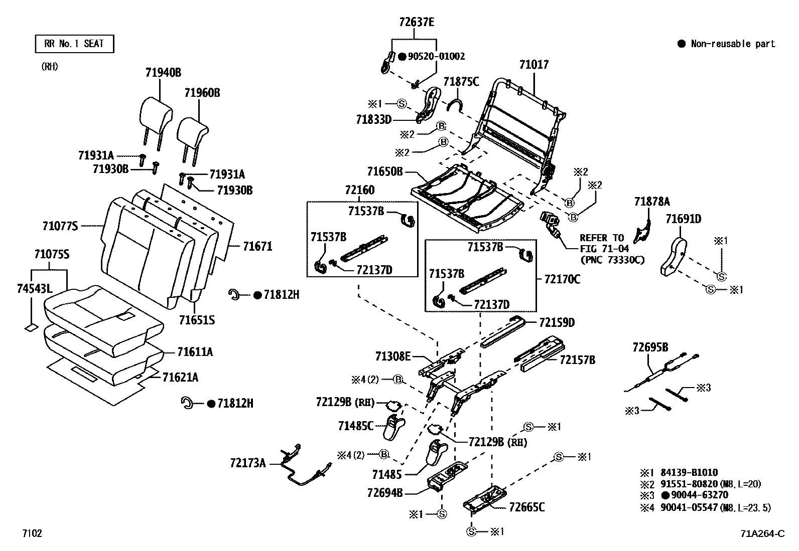
REAR SEAT & SEAT TRACK

71017FRAME SUB-ASSY, REAR SEATBACK, RH
7104SEAT BELT & CHILD RESTRAINT SEAT
71075SCOVER, REAR SEAT CUSHION, RH (FOR SEPARATE TYPE)
BROWN,TRIM4#
DARK BROWN,TRIM4#
DARK BROWN,TRIM4#
71077SCOVER, REAR SEATBACK, RH (FOR SEPARATE TYPE)
BROWN,TRIM4#
DARK BROWN,TRIM4#
DARK BROWN,TRIM4#
71308ELEG SUB-ASSY, REAR SEAT, RH
71485COVER, REAR SEAT HINGE
DK.GRAY,TRIM4#
71485CCOVER, REAR SEAT HINGE, RH
DK.GRAY,TRIM4#
71537BPROTECTOR, REAR SEAT CUSHION
71611APAD, REAR SEAT CUSHION, RH
71621APAD, REAR SEAT CUSHION SILENCER, A
71650BSPRING ASSY, REAR SEAT CUSHION, RH
71651SPAD, REAR SEATBACK, RH(FOR SEPARATE TYPE)
71671PAD, REAR SEATBACK SILENCER, A
71691DCOVER, REAR SEAT CUSHION HINGE, UPPER RH
DK.GRAY,TRIM4#
71812HRING, HOG, SMALL (FOR REAR SEAT)
71833DCOVER REAR SEAT RECLINING, RH
DK.GRAY,TRIM4#
71875CCOVER, RECLINING ADJUSTER INSIDE, RH
DK.GRAY,TRIM4#
71878ACOVER, REAR SEAT RECLINING, INNER RH
DK.GRAY,TRIM4#
71930BSUPPORT ASSY, REAR SEAT HEADREST
DK.GRAY,TRIM4#
71931ASUPPORT, REAR SEAT HEADREST
W/O(LOCK),DK.GRAY,TRIM4#
71940BHEADREST ASSY, REAR SEAT, RH
BROWN,TRIM4#
DARK BROWN,TRIM4#
DARK BROWN,TRIM4#
71960BHEADREST ASSY, REAR SEAT, CENTER
BROWN,TRIM4#
DARK BROWN,TRIM4#
DARK BROWN,TRIM4#
72129BPROTECTOR, SEAT TRACK LOWER RAIL
DK.GRAY,TRIM4#,LH,RH
72137DCOVER, REAR SEAT TRACK, RH
72157BCOVER, REAR SEAT TRACK BRACKET, INNER RH
DK.GRAY,TRIM4#
72159DCOVER, REAR SEAT TRACK BRACKET, OUTER RH
DK.GRAY,TRIM4#
72160TRACK ASSY, REAR SEAT, OUTER RH
72170TRACK ASSY, REAR SEAT, OUTER LH
72170CTRACK ASSY, REAR NO.1 SEAT, INNER RH
72173AHANDLE, REAR SEAT TRACK ADJUSTING, RH
72637EHANDLE, REAR SEAT LOCK, RH
DK.GRAY,TRIM4#
72665CCOVER, REAR SEAT LOCK, RH
DK.GRAY,TRIM4#
72694BCOVER, REAR SEAT CUSHION LOCK, RH
DK.GRAY,TRIM4#
74543LLABEL, REAR SEAT CAUTION, NO.1
84139B1010
main84139-B1010
9004105547
main90041-05547
9004463270
main90044-63270
9052001002
main90520-01002
9155180820
main91551-80820
40 parts on this diagram · 4 diagrams in section