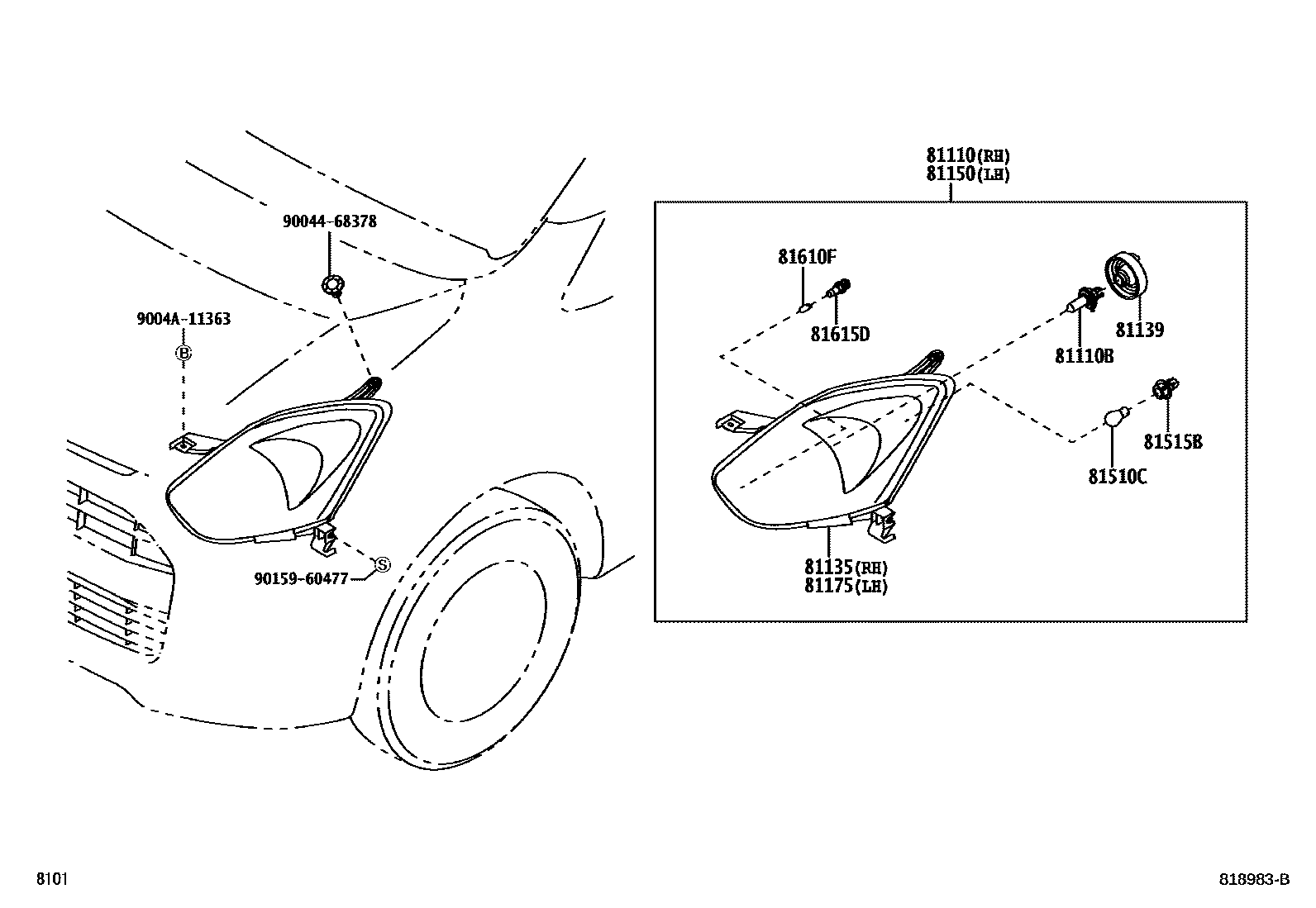
HEADLAMP

81110HEADLAMP ASSY, RH
81110BBULB(FOR HEADLAMP, NO.1)
12V 55W
12V 60/55W,*HAL *WH
81135UNIT ASSY, HEADLAMP, RH
81139COVER, HEADLAMP SOCKET
81150HEADLAMP ASSY, LH
81175UNIT ASSY, HEADLAMP, LH
81510CBULB (FOR FRONT TURN SIGNAL LAMP)
12V 21W
12V 21W AMBER
81515BSOCKET, FRONT TURN SIGNAL LAMP
81610FBULB(FOR CLEARANCE LAMP)
12V 5W T10
81615DSOCKET, CLEARANCE LAMP
9004468378
main90044-68378
9004A11363
main9004A-11363
9015960477
main90159-60477
13 parts on this diagram · 2 diagrams in section