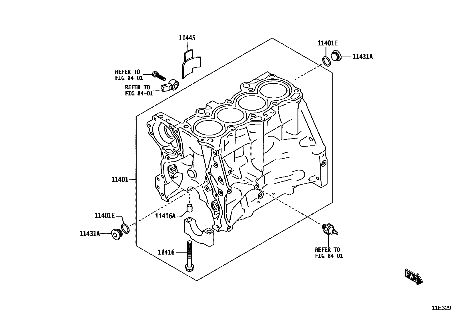
CYLINDER BLOCK

11401BLOCK SUB-ASSY, CYLINDER
POS.3; POS.4; POS.5
POS.1
11401EGASKET(FOR CYLINDER BLOCK PLUG)
POS.1; POS.3; POS.4; POS.5
11416BOLT(FOR CRANKSHAFT BEARING CAP SET)
POS.1; POS.3; POS.4; POS.5
11416APIN, RING(FOR CRANKSHAFT BEARING CAP SET)
POS.1; POS.3; POS.4; POS.5
11431APLUG, TIGHT, NO.1(FOR CYLINDER BLOCK)
POS.1; POS.3; POS.4; POS.5
11445SPACER, CYLINDER BLOCK WATER JACKET
POS.3; POS.4; POS.5
8401SWITCH & RELAY & COMPUTER
7 parts on this diagram · 6 diagrams in section