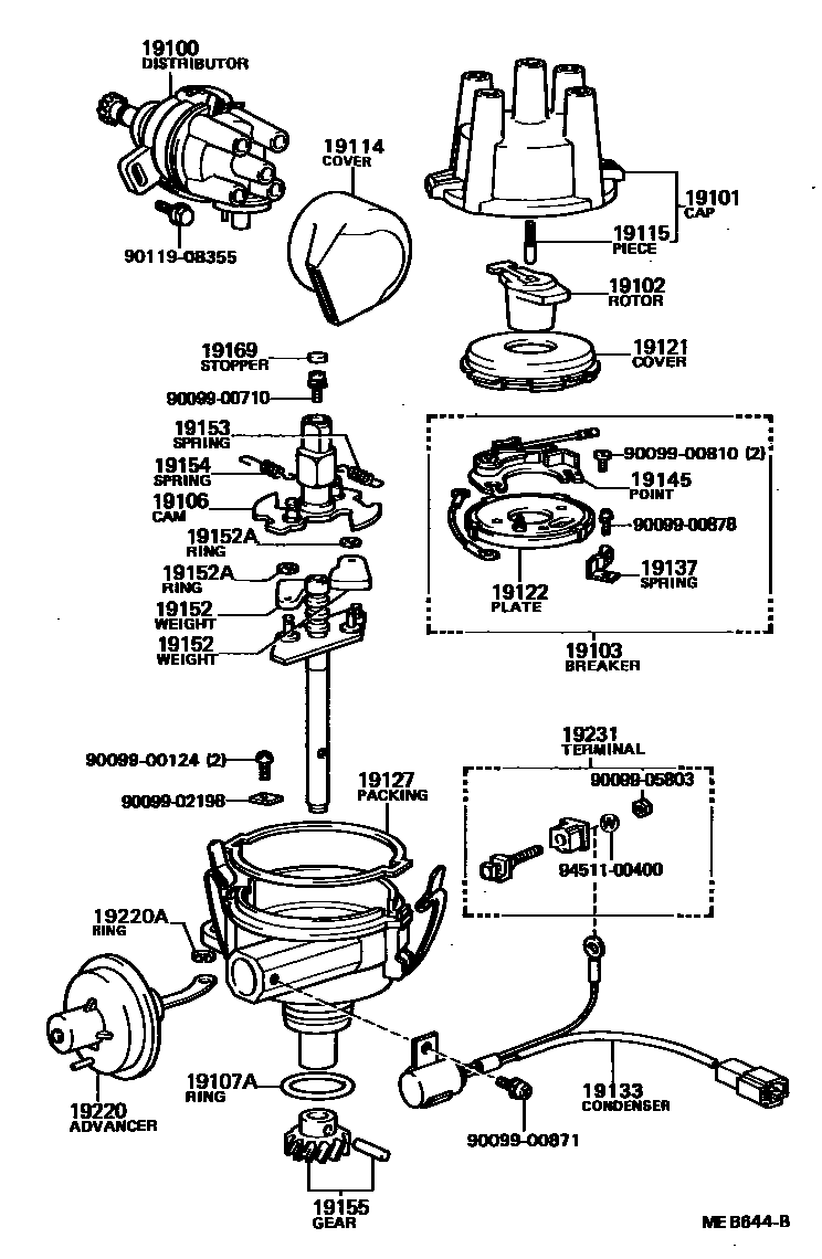
DISTRIBUTOR

19100DISTRIBUTOR ASSY
SWEDEN SPEC
19101CAP SUB-ASSY, DISTRIBUTOR
SWEDEN SPEC
19102ROTOR SUB-ASSY, DISTRIBUTOR
SWEDEN SPEC
19103BREAKER SUB-ASSY, DISTRIBUTOR
SWEDEN SPEC
19106CAM SUB-ASSY, DISTRIBUTOR
SWEDEN SPEC
19107ARING, O, DISTRIBUTOR HOUSING
19114COVER, WATER PROOF(FOR DISTRIBUTOR)
COLD SPEC
COLD SPEC
19115PIECE, DISTRIBUTOR CAP, CENTER
SWEDEN SPEC
19121COVER, DUST PROOF
NO.2
SWEDEN SPEC
NO.1
19122PLATE, STATIONARY, DISTRIBUTOR
SWEDEN SPEC
19127PACKING, DUST PROOF
SWEDEN SPEC
NO.2
NO.1
19133CONDENSER, DISTRIBUTOR
SWEDEN SPEC
19137SPRING SUB-ASSY, DAMPER
SWEDEN SPEC
19145POINT, DISTRIBUTOR
SWEDEN SPEC
19152WEIGHT, GOVERNOR
SWEDEN SPEC
19152ARING, SNAP(FOR GOVERNOR WEIGHT)
SWEDEN SPEC
19153SPRING, GOVERNOR, A
SWEDEN SPEC
19154SPRING, GOVERNOR, B
SWEDEN SPEC
19155GEAR, SPIRAL, DISTRIBUTOR
19169STOPPER, CAM GREASE
19220ADVANCER ASSY, VACUUM, DISTRIBUTOR
SWEDEN SPEC
19220ARING, SNAP(FOR DISTRIBUTOR VACUUM ADVANCER)
SWEDEN SPEC
19231TERMINAL, DISTRIBUTOR
SWEDEN SPEC
9009900124
main90099-00124
9009900710
main90099-00710
9009900810
main90099-00810
9009900871
main90099-00871
9009900878
main90099-00878
9009902198
main90099-02198
9009905803
main90099-05803
9011908355
main90119-08355
9451100400
main94511-00400
32 parts on this diagram · 3 diagrams in section