E
EPC Data

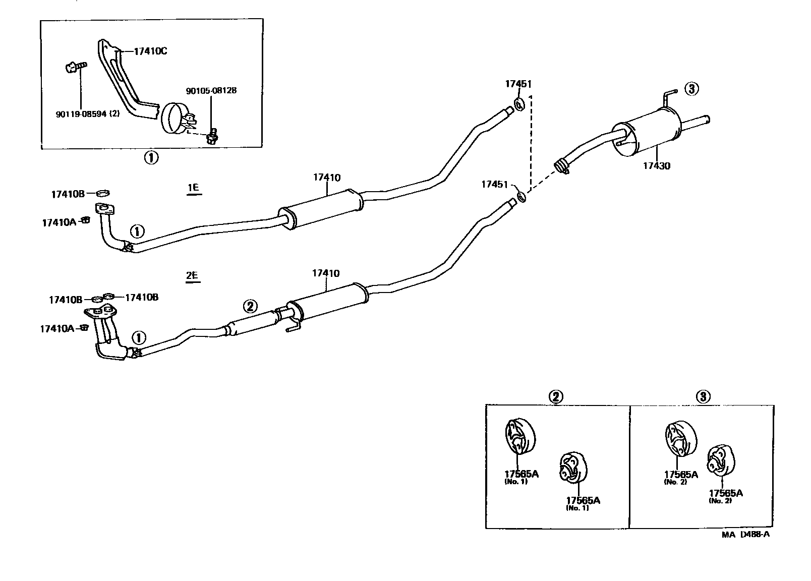
EXHAUST PIPE

Parts diagram
17410PIPE ASSY, EXHAUST, FRONT
main17410-10090i198912-199201
main17410-10091i199201-199601
main17410-10100i198912-199201
SEVERE USAGE PACKAGE
main17410-10101i199201-199601
SEVERE USAGE PACKAGE
main17410-11390i199201-199601
main17410-11410i198912-199201
main17410-11411i199201
main17410-11440i199006-199201
SEVERE USAGE PACKAGE
main17410-11441i199201
SEVERE USAGE PACKAGE
17410ANUT, EXHAUST PIPE SET STUD BOLT
main90179-10070×2i198912-199601
17410BGASKET, EXHAUST PIPE
main90917-06037×2i198912
main90917-06039i198912-199601
17410CBRACKET, EXHAUST PIPE FRONT (FOR FRONT)
main17571-11020i198912-199201
main17571-11070i198912-199201
main17571-11160i199201-199601
main17571-11180i199201
17430PIPE ASSY, EXHAUST, TAIL
main17430-11400i199201-199405
main17430-11401i199405-199601
HONGKONG SPEC
main17430-11410i199204-199405
main17430-11411i199405-199601
main17430-11440i198912-199201
main17430-11441i199201-199405
main17430-11442i199405
17451GASKET, EXHAUST PIPE
main90917-06058i198912
main90917-06060i199201-199601
17565ASUPPORT, EXHAUST PIPE, NO.4
main17565-11010×2i198912-199201
NO.1
main17565-11160×2i199201-199312
NO.1
main17565-55050×2i199304-199601
main17565-63120×2i198912-199201
NO.2
main17565-74280×4i199312
main17565-74290×2i199201-199304
NO.2
9010508128
9011908594

9 parts on this diagram · 2 diagrams in section

EXHAUST PIPE — Toyota Parts Diagram with OEM Numbers & Prices | EPC Data