E
EPC Data

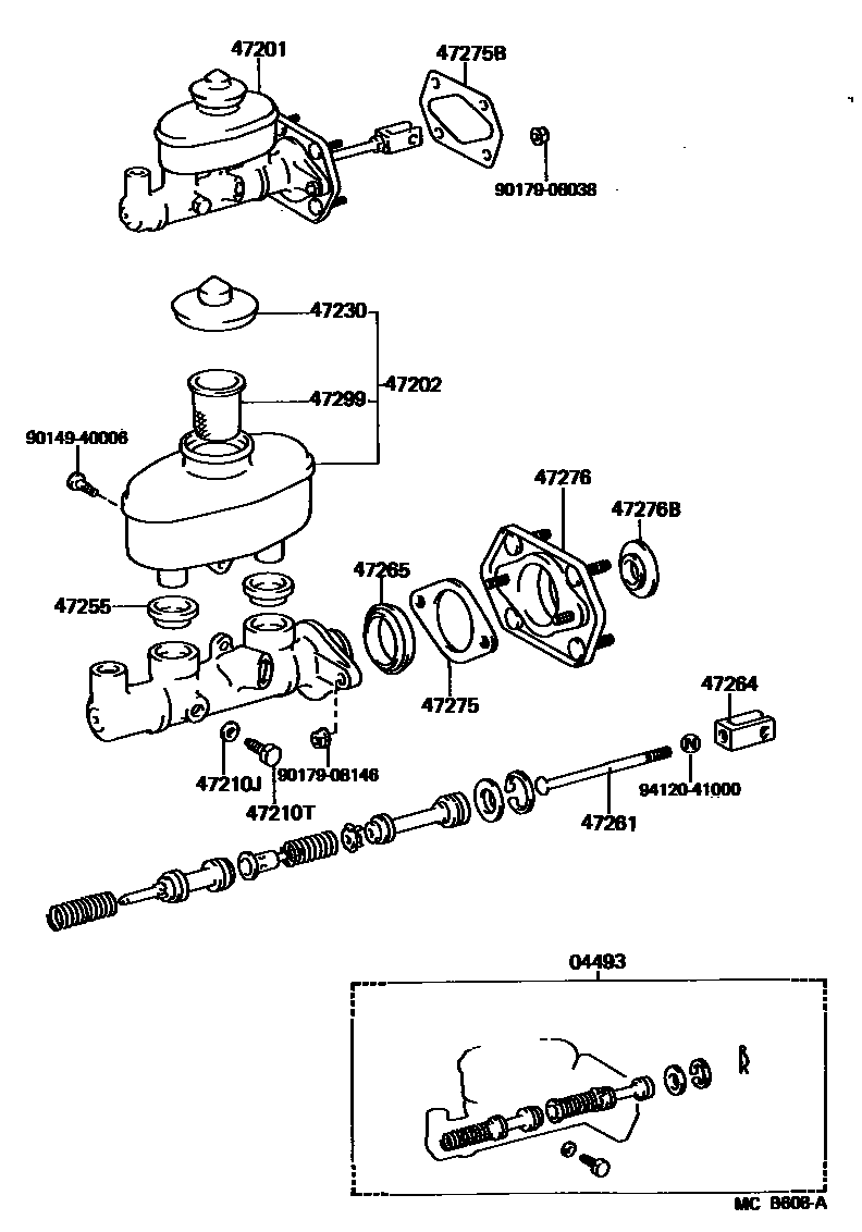
BRAKE MASTER CYLINDER

Parts diagram
04493CYLINDER KIT, BRAKE MASTER
main04493-10090i198410-198912
W/BOOSTER
main04493-10100i198410-198912
47201CYLINDER SUB-ASSY, BRAKE MASTER
main47200-10330i198410-198912
main47200-10340i198410-198912
main47201-10110i198410-198912
W/BOOSTER
main47201-10120i198410-198912
W/BOOSTER
47202RESERVOIR SUB-ASSY, BRAKE MASTER CYLINDER
main47202-12360i198410-198912
47210JGASKET(FOR MASTER CYLINDER)
main90430-06104i198410-198912
47210TBOLT(FOR BRAKE MASTER CYLINDER)
main90109-06077i198410-198912
47230CAP ASSY, BRAKE MASTER CYLINDER RESERVOIR FILLER
main47230-12040i198410-198912
47255GROMMET, MASTER CYLINDER RESERVOIR
main47255-10010i198410-198912
47261ROD, MASTER CYLINDER PUSH
main47261-10040i198410-198912
47264CLEVIS, MASTER CYLINDER PUSH ROD
main47264-10080i198410-198912
47265BOOT, MASTER CYLINDER
main47265-20050i198410-198912
47275GASKET, BRAKE MASTER CYLINDER
main47275-14010i198410-198912
47275BGASKET, BRAKE MASTER CYLINDER, NO.2
main47275-10030i198410-198912
47276BRACKET, BRAKE MASTER CYLINDER
main47276-10030i198410-198912
47276BGROMMET(FOR BRAKE MASTER CYLINDER BRACKET)
main90480-22004i198410-198912
47299STRAINER, BRAKE MASTER CYLINDER RESERVOIR
main47299-32010i198410-198912
9014940006
9017908038
9017908146
9412041000

19 parts on this diagram · 2 diagrams in section

BRAKE MASTER CYLINDER — Toyota Parts Diagram with OEM Numbers & Prices | EPC Data