E
EPC Data

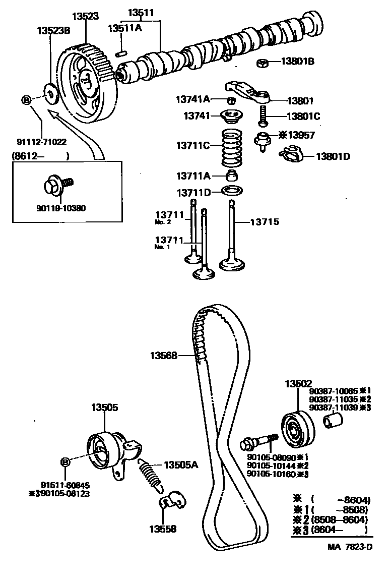
CAMSHAFT & VALVE

Parts diagram
13502IDLER SUB-ASSY, TIMING BELT, NO.2
main13503-10010i198410-198604
main13503-10011i198604-198912
13505IDLER SUB-ASSY, TIMING BELT, NO.1
main13505-10010i198410-198604
main13505-11010i198604-198912
13505ASPRING, TENSION(FOR IDLER)
main90506-16050i198809-198912
main90506-18059i198704-198809
main90506-20050i198604-198704
13511CAMSHAFT
main13501-10010i198410-198912
main13501-11010i198410-198912
13511APIN, STRAIGHT(FOR CAMSHAFT KNOCK)
main90250-05121i198410-198912
L=15,OD=5
13523GEAR OR SPROCKET, CAMSHAFT TIMING
main13523-10030i198410-198604
main13523-10040i198604-198912
13523BWASHER, PLATE(FOR TIMING GEAR)
main90201-10019i198410-198912
13558BRACKET, SPRING(FOR IDLER)
main13558-10010i198410-198604
main13558-11010i198604-198912
13568BELT, TIMING
main13568-10011i198612-198704
main13568-10012i198704-198705
main13568-10020i198410-198603
main13568-10021i198603-198612
main13568-10022i198705-198805
main13568-10023i198805-198908
main13568-10024i198908-198912
main13568-11020i198410-198603
main13568-11050i198603-198704
main13568-11051i198704-198903
main13568-11052i198903-198912
13711VALVE, INTAKE
main13711-10020×4i198410-198912
NO.1
main13712-10010×4i198410-198912
NO.2
13711ASEAL OR RING, O(FOR VALVE STEM OIL)
main90913-02067×12i198410-198601
main90913-02070×12i198601-198605
main90913-02071×12i198605-198912
13711CSPRING, COMPRESSION(FOR OUTER)
main90501-35011×12i198410-198912
13711DWASHER, PLATE(FOR VALVE SPRING SEAT)
main90201-19008×12i198410-198912
13715VALVE, EXHAUST
main13715-10030×4i198410-198912
13741RETAINER, VALVE SPRING
main13741-10020×12i198410-198912
13741ALOCK, VALVE SPRING RETAINER
main90913-03021×24i198410-198912
13801ARM SUB-ASSY, VALVE ROCKER, NO.1
main13811-10020×12i198410-198711
main13811-10021×12i198711-198912
13801BNUT, HEXAGON(FOR VALVE ADJUSTING)
main90170-07003×12i198410-198803
main90170-07004×12i198803-198912
13801CSCREW, VALVE ADJUSTING
main13788-10010×12i198410-198803
main13788-10013×12i198803-198912
13801DSPRING, COMPRESSION(FOR ROCKER ARM)
main13935-10010×12i198410-198912
13957PIVOT, VALVE ROCKER ARM
main13957-10010×12i198410-198604
9010508090
9010508123
9010510144
9010510160
9011910380
9038710065
9038711035
9038711039
9111271022
9151160845

31 parts on this diagram · 1 diagram in section

CAMSHAFT & VALVE — Toyota Parts Diagram with OEM Numbers & Prices | EPC Data