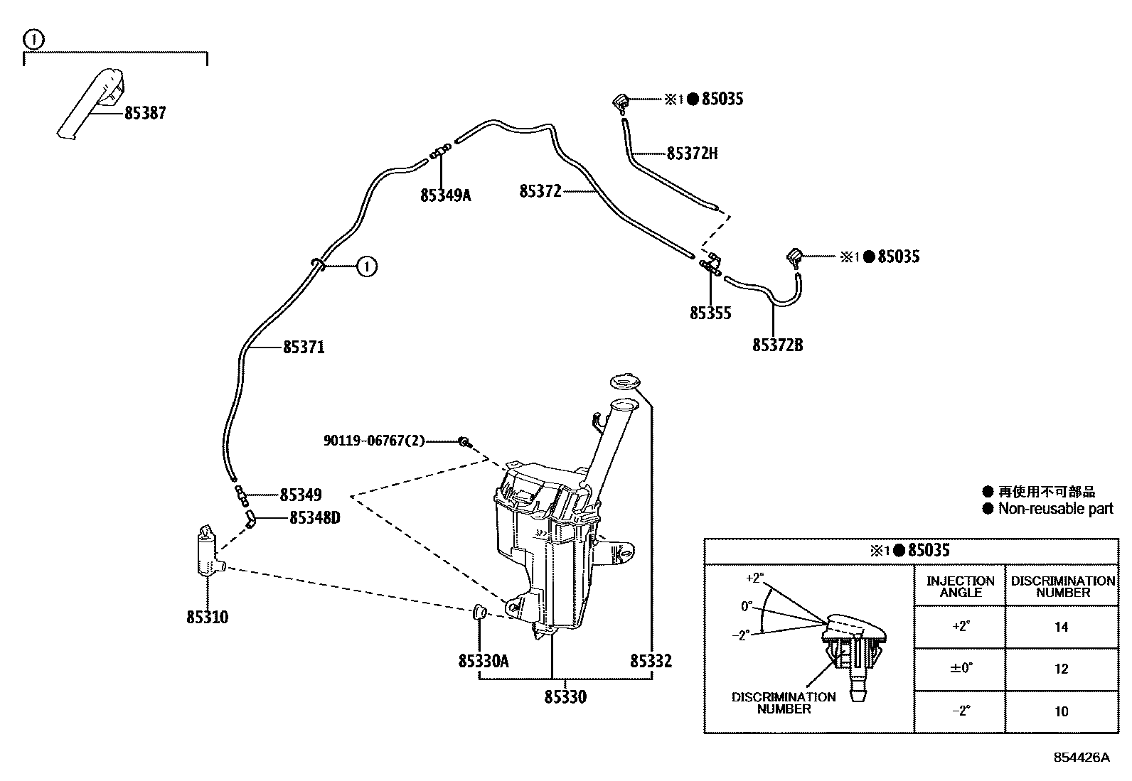
WINDSHIELD WASHER

85035NOZZLE SUB-ASSY, WASHER
ANGLE 0
ANGLE -2
ANGLE +2
85310MOTOR AND PUMP ASSY, WINDSHIELD WASHER
85330JAR ASSY, WINDSHIELD WASHER
85330ABUSH, WINDSHIELD WASHER JAR
85332CAP, WINDSHIELD WASHER JAR
85348DJOINT, WINDSHIELD WASHER ELBOW, NO.1
85349JOINT, WINDSHIELD WASHER HOSE, NO.1
85349AJOINT, WINDSHIELD WASHER HOSE, NO.2
85355VALVE, WINDSHIELD WASHER HOSE
85371HOSE, WINDSHIELD WASHER (FROM MOTOR TO JOINT)
L=1450(*H,L=800)
L=800
85372HOSE, WINDSHIELD WASHER (FROM JOINT TO JOINT), NO.1
L=1450(*H,L=670); L=1450(*H,L=910)
85372BHOSE, WINDSHIELD WASHER (FROM JOINT TO JOINT), NO.2
L=1450(*H,L=200); L=1450(*H,L=420)
85372HHOSE, WINDSHIELD WASHER (FROM JOINT TO JOINT), NO.3
L=1450(*H,L=150)
L=1000(*H,L=370)
85387CLAMP NO.1 (FOR WINDSEIELD WASHER)
9011906767
main90119-06767
15 parts on this diagram · 2 diagrams in section