E
EPC Data

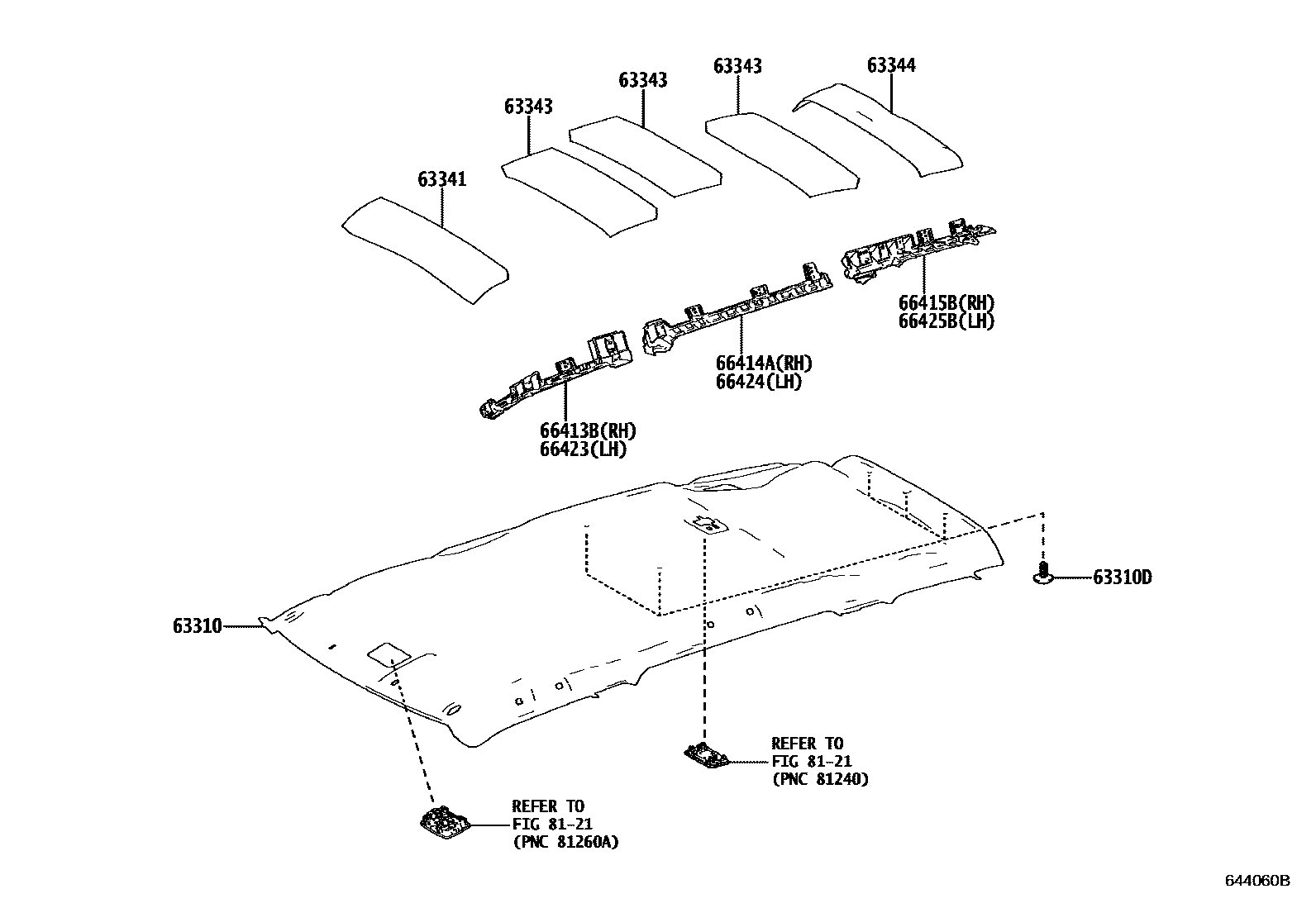
ROOF HEADLINING & SILENCER PAD

Parts diagram
63310HEADLINING ASSY, ROOF
main63310-0D750-B0i201911
GRAY,TRIM2#
main63310-0DB70-B0supersedes 63310-0DB70-B0i201611-201911
GRAY,TRIM2#
main63310-0DB80-B0i201911-202011
GRAY,TRIM2#
main63310-0DB90-B0i201611-201712
GRAY,TRIM0#,2#
main63310-0DK30-B0i202012
GRAY,TRIM2#
63310DCLIP, ROOF HEADLINING
main90467-05164-B0×5i201911
LT.GRAY,TRIM0#,2#
63341PAD, ROOF SILENCER, NO.1
main63341-0D480i201611-201911
63343PAD, ROOF SILENCER, NO.3
main63343-0D370×2i201611-201911
63344PAD, ROOF SILENCER, NO.4
main63344-0D060i201611-201911
66413BSPACER, SIDE RAIL, FRONT RH
main66413-0D340i201611-201712
66414ASPACER, SIDE RAIL, REAR RH
main66414-0D380i201611-201712
66415BSPACER, SIDE RAIL, REAR NO.2 RH
main66415-0D080supersedes 66415-0D090i201611-201712
main66415-0D090i201911
66423SPACER, SIDE RAIL, FRONT LH
main66423-0D310i201611-201712
66424SPACER, SIDE RAIL, REAR LH
main66424-0D380i201611-201712
66425BSPACER, SIDE RAIL, REAR NO.2 LH
main66425-0D080supersedes 66425-0D090i201611-201712
main66425-0D090i201911
8121

12 parts on this diagram · 4 diagrams in section

ROOF HEADLINING & SILENCER PAD — Toyota Parts Diagram with OEM Numbers & Prices | EPC Data