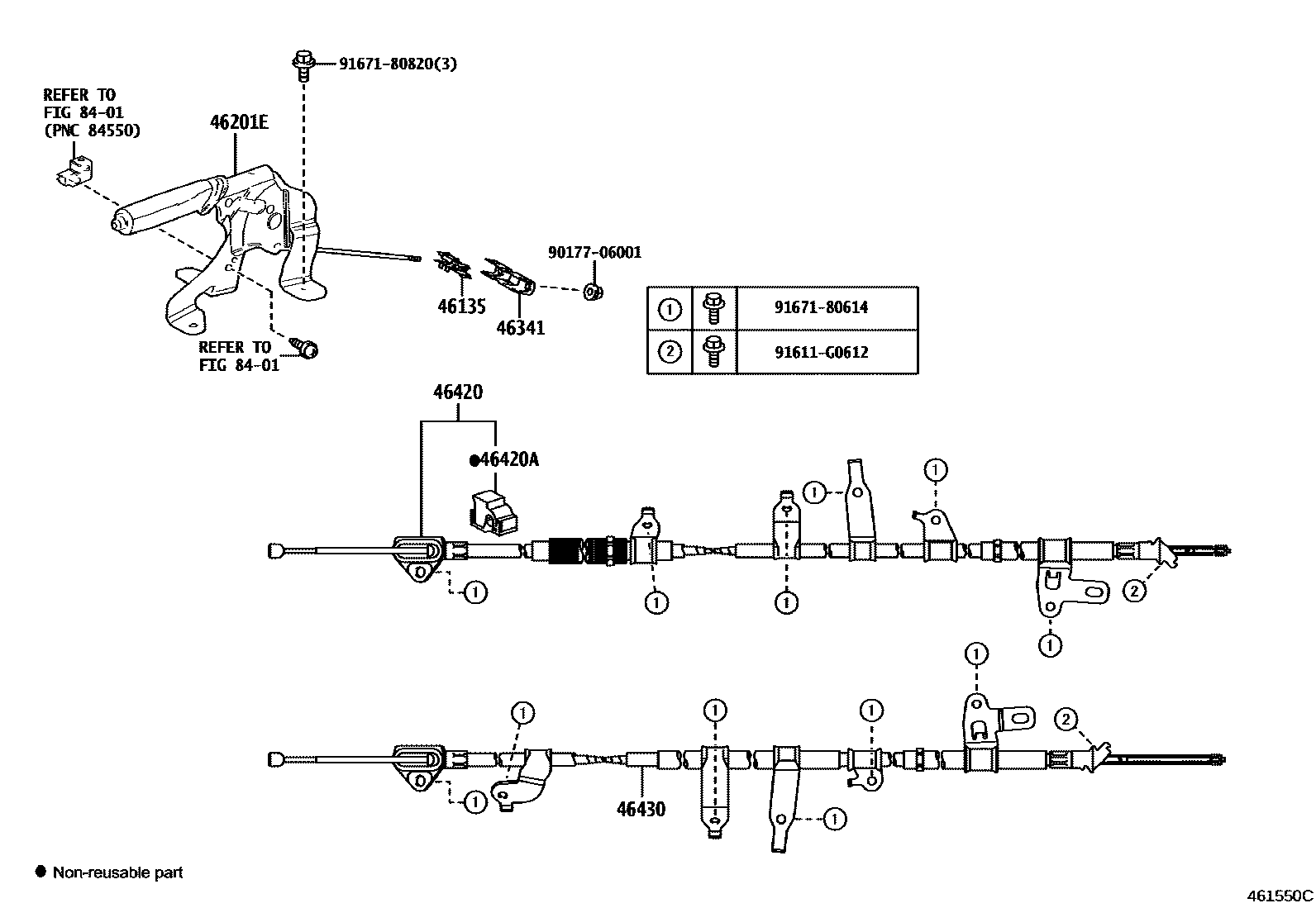
PARKING BRAKE & CABLE

46135STOPPER, PARKING BRAKE CABLE END
46201ELEVER SUB-ASSY, PARKING BRAKE
BLACK,TRIM0#,2#
BLACK,TRIM0#,2#
46341EQUALIZER, PARKING BRAKE
46420CABLE ASSY, PARKING BRAKE, NO.2
46420ACLAMP, NO.1(FOR PARKING BRAKE CABLE)
46430CABLE ASSY, PARKING BRAKE, NO.3
8401
9017706001
main90177-06001
91611G0612
main91611-G0612
9167180614
main91671-80614
9167180820
main91671-80820
11 parts on this diagram · 2 diagrams in section