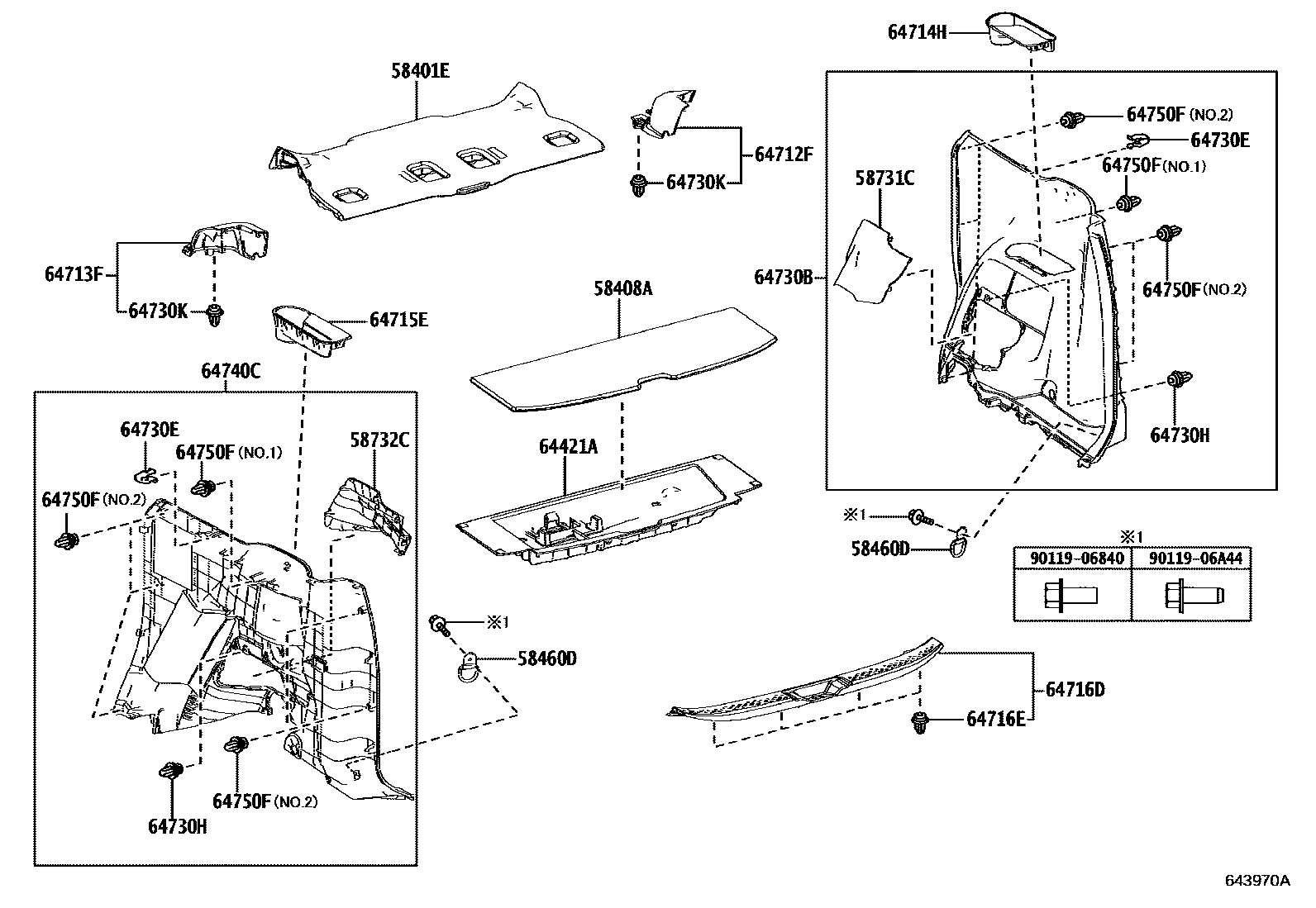
DECK BOARD & DECK TRIM COVER

58401EBOARD SUB-ASSY, DECK
BLACK,TRIM2#
58408ABOARD SUB-ASSY, DECK, NO.2
BLACK,TRIM2#
58460DSTRIKER ASSY, LUGGAGE HOLD BELT
58731CCAP, REAR ABSORBER
FROMAGE,TRIM0#,21
BLACK,TRIM20
58732CCAP, REAR ABSORBER
FROMAGE,TRIM0#,21
BLACK,TRIM20
64421ATRAY, LUGGAGE COMPARTMENT
64712FCOVER, DECK SIDE TRIM, FRONT RH
BLACK,TRIM2#
64713FCOVER, DECK SIDE TRIM, FRONT LH
BLACK,TRIM2#
64714HCOVER, DECK SIDE TRIM, NO.1
FROMAGE,TRIM0#,21
BLACK,TRIM20
64715ECOVER, DECK SIDE TRIM, NO.2
FROMAGE,TRIM0#,21
BLACK,TRIM20
64716DCOVER, DECK TRIM, REAR
FROMAGE,TRIM0#,21
BLACK,TRIM20
64716ECLIP(FOR DECK TRIM REAR COVER)
64730BPANEL ASSY, DECK TRIM SIDE, RH
FROMAGE,TRIM0#,21
BLACK,TRIM20
64730ECLIP(FOR DECK TRIM SIDE BOARD)
64730HCLIP(FOR DECK TRIM SIDE PANEL)
64730KCLIP(FOR DECK SIDE TRIM PANEL)
64740CPANEL ASSY, DECK TRIM SIDE, LH
FROMAGE,TRIM0#,21
BLACK,TRIM20
64750FCLIP(FOR DECK SIDE TRIM PANEL)
NO.1:REFER ILLUST.
NO.2:REFER ILLUST.
9011906840
main90119-06840
9011906A44
main90119-06A44
20 parts on this diagram · 1 diagram in section