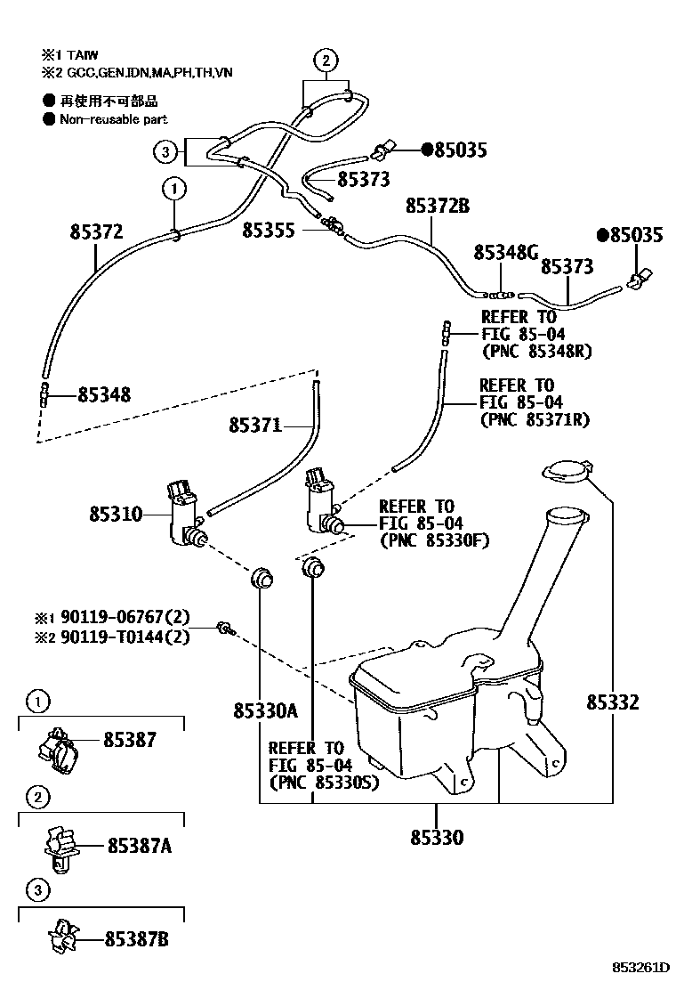
WINDSHIELD WASHER

85035NOZZLE SUB-ASSY, WASHER
ANGLE -2
ANGLE 0
ANGLE +2
ANGLE -2
ANGLE 0
ANGLE -2
ANGLE +2
8504REAR WASHER
85310MOTOR AND PUMP ASSY, WINDSHIELD WASHER
85330JAR ASSY, WINDSHIELD WASHER
85330ABUSH, WINDSHIELD WASHER JAR
main90099-32089iNSP152..HTWCB;NSP150,151..LHD..(GCC,GEN)..R;NSP150,151..CVT..(GEN,VN)..(D,G)..A201709-202302
85332CAP, WINDSHIELD WASHER JAR
85348JOINT, WINDSHIELD WASHER HOSE, NO.1
85348GJOINT, WINDSHIELD WASHER HOSE, NO.2
85355VALVE, WINDSHIELD WASHER HOSE
85371HOSE, WINDSHIELD WASHER (FROM MOTOR TO JOINT)
L=260
L=230
L=230
L=210
L=1450(*H,L=230)
85372HOSE, WINDSHIELD WASHER (FROM JOINT TO JOINT), NO.1
L=1590
L=1590
L=1620
L=1620
L=1620
85372BHOSE, WINDSHIELD WASHER (FROM JOINT TO JOINT), NO.2
L=305
L=305
L=300
L=300
L=1800(*H,L=300)
85373HOSE, WINDSHIELD WASHER (FROM JOINT TO NOZZLE)
L=180
L=40
L=230
L=230
L=180
L=1000(*H,L=180)
85387CLAMP NO.1 (FOR WINDSEIELD WASHER)
85387ACLAMP, WASHER, NO.2
85387BCLAMP, WASHER, NO.3
(J)
9011906767
main90119-06767
90119T0144
main90119-T0144
18 parts on this diagram · 7 diagrams in section