E
EPC Data

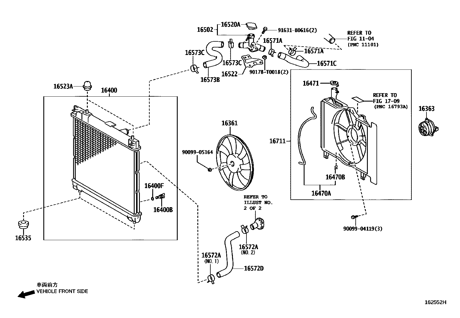
RADIATOR & WATER OUTLET

Parts diagram
1104
16361FAN
main16361-0M050i200601-201307
main16361-0M060i200611-200910
16363MOTOR, COOLING FAN
main16363-0M020i200601-200910
16400RADIATOR ASSY
main16400-0M060i200601-201307
main16400-0M070i200601-201307
main16400-0M080i200611-200910
16400BPLUG, RADIATOR DRAIN COCK
main16417-0C180i200601-201307
main16417-21280i200611-200910
16400FPACKING(FOR RADIATOR DRAIN COCK)
main16492-21050i200601-200910
16470AHOSE OR PIPE(FOR RADIATOR RESERVE TANK)
main16378-0M050i200601-201307
16470BCLAMP OR CLIP(FOR RADIATOR RESERVE TANK HOSE)
main90467-11085i200601-200910
16471CAP SUB-ASSY, RESERVE TANK
main16471-23030i200601-200910
16502FILLER SUB-ASSY, WATER
main16502-21060i200908-201203
main16502-21070i200601-201307
main16502-21080i201204
main16502-21100i200611-200908
16520ACAP SUB-ASSY, WATER FILLER
main16401-0H060i200601-201307
main16401-28280i200611-200903
main16401-31480i200904-201204
main16401-31520i201204
16522BRACKET, WATER FILLER
main16522-21010i200601-200910
16523ACUSHION, RADIATOR SUPPORT
main16523-0M040i200611-200910
main16523-0M050i200702-201307
main16523-21030i200601-200702
16535SUPPORT, RADIATOR, LOWER
main90480-22025i200601-201307
main90480-22025i200910
(J)
main90480-T0008i200611-200910
main90480-T0008i200910
(L)
16571ACLAMP OR CLIP, HOSE(FOR RADIATOR INLET)
main90467-33006i200601-201307
main90467-33006i200910-201403
NO.1
main90467-33006i200910
NO.2
main96136-43901i201404
NO.1
16571CHOSE, RADIATOR, NO.1
main16571-0M050i200611-200910
main16571-21120i200601-201307
16572ACLAMP OR CLIP, HOSE(FOR RADIATOR OUTLET NO.1)
main90467-33006i200601-200910
NO.2
main90467-34004i200601-200910
NO.1
16572DHOSE, RADIATOR, NO.2
main16572-0M040i200903-201307
main16572-0M040i200601-200903
(L)
main16572-0M050i200611-200910
main16572-21090i200601-200903
(J)
16573BHOSE, RADIATOR, NO.3
main16573-0M010i200601-200903
(L)
main16573-0M010i200903-201307
main16573-0M020i200611-200910
main16573-21060i200601-200903
(J)
16573CCLAMP OR CLIP, RADIATOR HOSE, NO.3
main90467-33006i200601-200910
16711SHROUD, FAN
main16711-0M030i200601-201307
main16711-0M040i200611-200910
1709
9009904119
9009905164
90178T0018
91631B0616

26 parts on this diagram · 3 diagrams in section

RADIATOR & WATER OUTLET — Toyota Parts Diagram with OEM Numbers & Prices | EPC Data