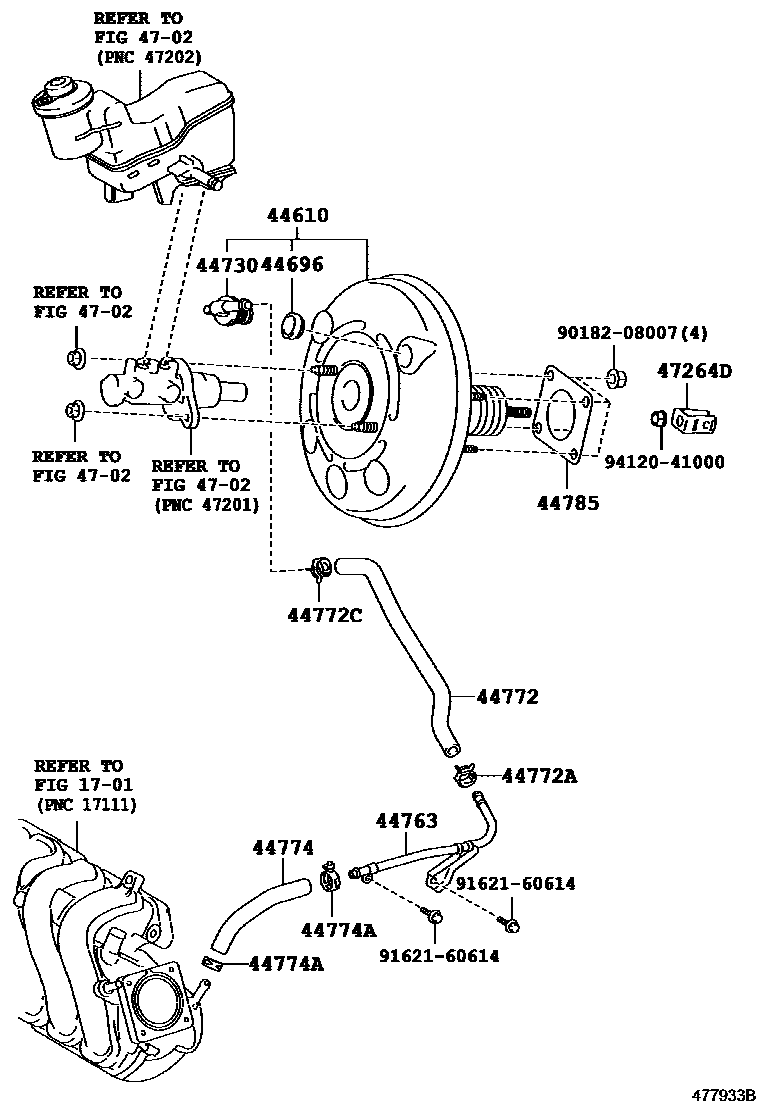
BRAKE BOOSTER & VACUUM TUBE

1701MANIFOLD
44610BOOSTER ASSY, BRAKE
ABS-WITHOUT
44696GROMMET, CHECK VALVE
44730VALVE ASSY, VACUUM CHECK(FOR BRAKE)
44763TUBE, BOOSTER VACUUM
44772HOSE, CHECK VALVE TO CONNECTOR TUBE
44772ACLIP(FOR CHECK VALVE TO CONNECTOR TUBE)
44772CCLIP(FOR CHECK VALVE TO BRAKE BOOSTER HOSE)
44774HOSE, UNION TO CONNECTOR TUBE
44774ACLIP(FOR UNION TO CONNECTOR TUBE HOSE)
44785GASKET, BRAKE BOOSTER
4702BRAKE MASTER CYLINDER
47264DCLEVIS, BRAKE MASTER CYLINDER PUSH ROD
9018208007
main90182-08007
9162160614
main91621-60614
9412041000
main94120-41000
16 parts on this diagram · 2 diagrams in section