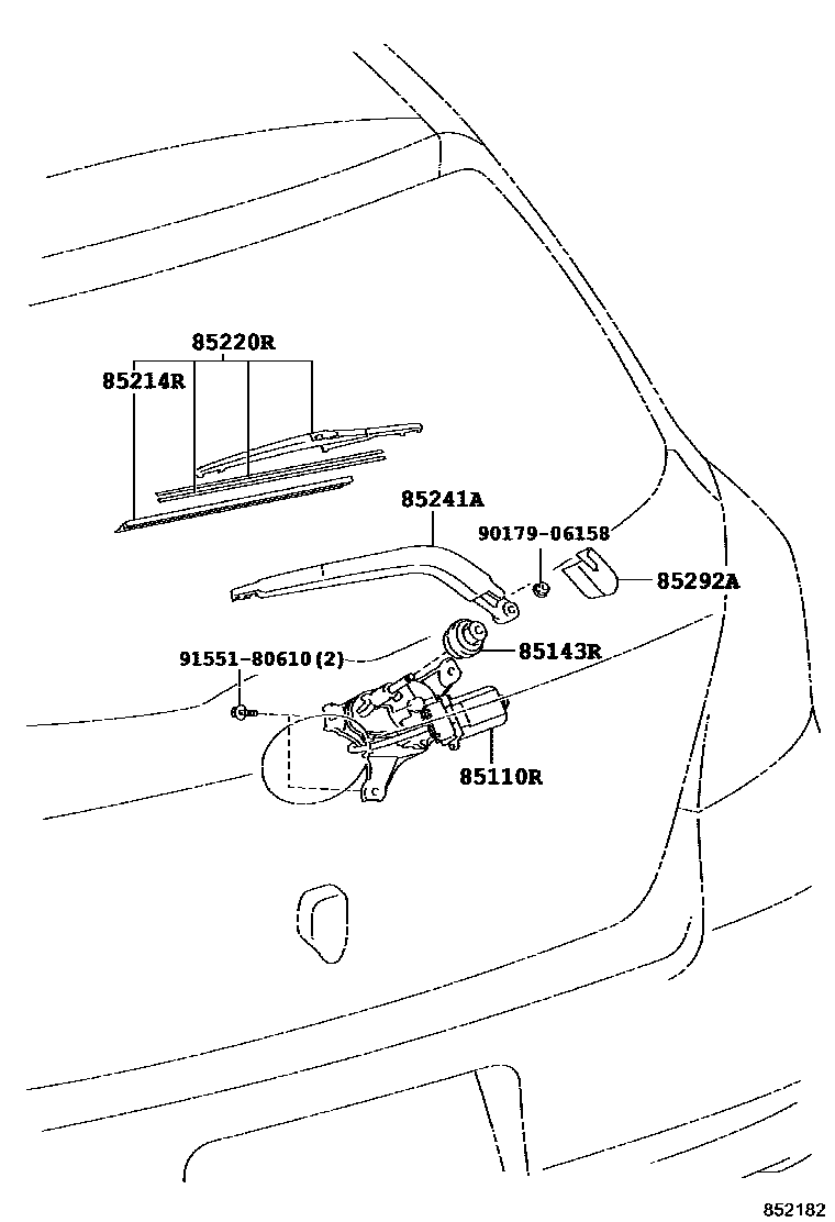
REAR WIPER

85143RGROMMET, REAR WIPER MOTOR
85214RRUBBER, REAR WIPER
85220RBLADE ASSY, REAR WIPER
85241AARM, REAR WIPER
85292ACAP, REAR WIPER ARM HEAD
9017906158
main90179-06158
9155180610
main91551-80610
8 parts on this diagram · 1 diagram in section