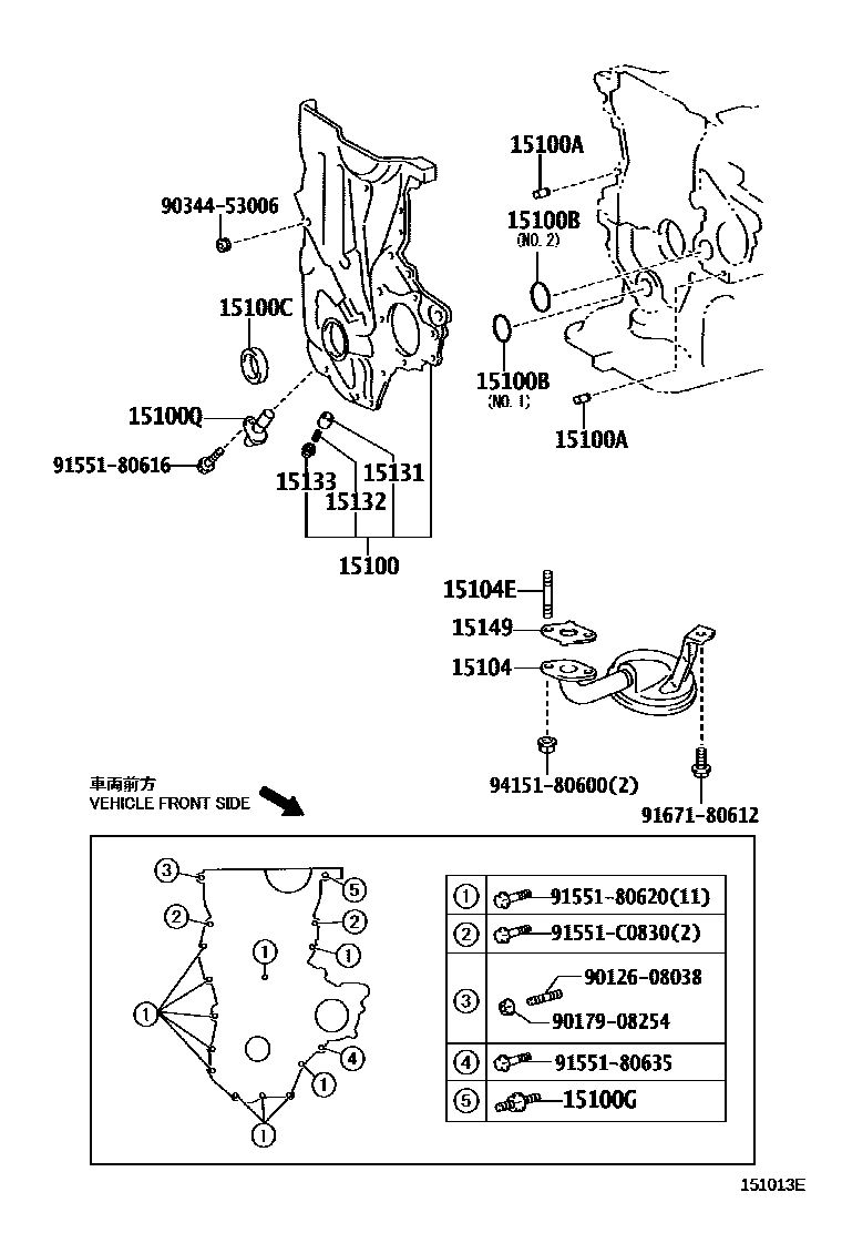
ENGINE OIL PUMP

15100PUMP ASSY, OIL
15100APIN, RING(FOR OIL PUMP SET)
15100BRING, O(FOR OIL PUMP)
NO.1
NO.2
15100CSEAL(FOR OIL PUMP)
15100GBOLT,STUD(FOR OIL PUMP)
15100QSENSOR, CRANK POSITION
15104STRAINER SUB-ASSY, OIL
15104EBOLT, STUD(FOR OIL STRAINER)
15131VALVE, OIL PUMP RELIEF
15132SPRING, OIL PUMP RELIEF VALVE
15133PLUG, OIL PUMP RELIEF VALVE
15149GASKET, OIL STRAINER FLANGE
9012608038
main90126-08038
9017908254
main90179-08254
9034453006
main90344-53006
9155180616
main91551-80616
9155180620
main91551-80620
9155180635
main91551-80635
91551C0830
main91551-C0830
9167180612
main91671-80612
9415180600
main94151-80600
21 parts on this diagram · 1 diagram in section