E
EPC Data

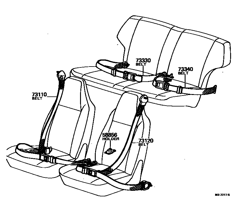
SEAT BELT & CHILD RESTRAINT SEAT

Parts diagram
58856HOLDER, SEAT BELT BUCKLE
main58853-10010i197201-197511
73110BELT ASSY, FRONT SEAT 3 POINT TYPE, RH
main71870-10020-01i196904-197101
BLACK,BLACK
main71870-10020-02i196904-197010
RED,RED/MAROON
main71870-10021-01i197101-197112
BLACK,BLACK
main71870-10022-01i197201-197212
BLACK,BLACK
main71870-10023-01i197212-197511
BLACK,BLACK
main71870-11010-01i196911-197101
BLACK,BLACK
main71870-11010-02i196911-197010
RED,RED/MAROON
main71870-11011-01i197101-197212
BLACK,BLACK
main71870-96400-01i197212-197511
BLACK,BLACK
73120BELT ASSY, FRONT SEAT 3 POINT TYPE, LH
main71870-10020-01i196904-197101
BLACK,BLACK
main71870-10020-02i196904-197010
RED,RED/MAROON
main71870-10021-01i197101-197112
BLACK,BLACK
main71870-10022-01i197201-197212
BLACK,BLACK
main71870-10023-01i197212-197511
BLACK,BLACK
main71870-11010-01i196911-197101
BLACK,BLACK
main71870-11010-02i196911-197010
RED,RED/MAROON
main71870-11011-01i197101-197212
BLACK,BLACK
main71870-96400-01i197212-197511
BLACK,BLACK
73330BELT ASSY, REAR SEAT LAP TYPE, RH
main71910-10020-01i196904-197101
BLACK,BLACK
main71910-10020-02i196904-197010
RED,RED/MAROON
main71910-10021-01i197101-197112
BLACK,BLACK
main71910-10022-01i197201-197503
BLACK,BLACK,TRIM2#
main71910-11010-01i196904-197101
BLACK,BLACK
main71910-11010-02i196904-197010
RED,RED/MAROON
main71910-11011-01i197101-197503
BLACK,BLACK,TRIM2#
main71930-10050i197503-197701
main71930-10050-01i197701-197802
BLACK,BLACK,TRIM2#
main71930-10050-06i197701-197802
LIGHT BROWN,BROWN,TRIM4#
main71930-11010i197503-197701
main71930-11010-01i197701-197809
BLACK,BLACK,TRIM2#
main71930-11010-06i197701-197809
LIGHT BROWN,BROWN,TRIM4#
73340BELT ASSY, REAR SEAT LAP TYPE, LH
main71910-10020-01i196904-197101
BLACK,BLACK
main71910-10020-02i196904-197010
RED,RED/MAROON
main71910-10021-01i197101-197112
BLACK,BLACK
main71910-10022-01i197201-197503
BLACK,BLACK,TRIM2#
main71910-11010-01i196904-197101
BLACK,BLACK
main71910-11010-02i196904-197010
RED,RED/MAROON
main71910-11011-01i197101-197503
BLACK,BLACK,TRIM2#
main71930-10050i197503-197701
main71930-10050-01i197701-197802
BLACK,BLACK,TRIM2#
main71930-10050-06i197701-197802
LIGHT BROWN,BROWN,TRIM4#
main71930-11010i197503-197701
main71930-11010-01i197701-197809
BLACK,BLACK,TRIM2#
main71930-11010-06i197701-197809
LIGHT BROWN,BROWN,TRIM4#

5 parts on this diagram · 2 diagrams in section

SEAT BELT & CHILD RESTRAINT SEAT — Toyota Parts Diagram with OEM Numbers & Prices | EPC Data