E
EPC Data

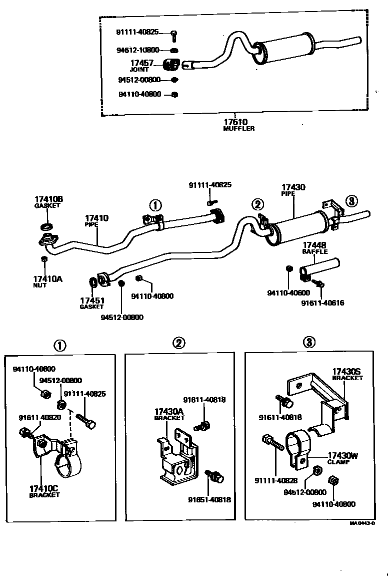
EXHAUST PIPE

Parts diagram
17410PIPE ASSY, EXHAUST, FRONT
main17410-12012i197201-197410
main17410-12013i197410-197511
main17410-12020i196904-196905
main17410-12021i196905-197112
main17410-24120i197707-198108
main17410-24140i197511-198808
main17410-24150i197604-197809
W/SUB-MUFFLER,EUROPE SPEC
17410ANUT, EXHAUST PIPE SET STUD BOLT
main90170-10199×3i196904-197102
main90179-10010×3i197605-198406
main90179-10070×3i198406-198808
main90179-10118×3i197102-197511
17410BGASKET, EXHAUST PIPE
main17451-22010i197707-198108
main90917-06006i196904-197511
main90917-06012i197511-198808
17410CBRACKET, EXHAUST PIPE FRONT (FOR FRONT)
main17571-22010i196904-197511
main17571-24050i197707-197708
main17571-24051i197708-198108
main17571-24080i197511-197708
main17571-24081i197708-198808
17430PIPE ASSY, EXHAUST, TAIL
main17430-12015i197410-197511
main17430-12024i197404-197511
main17430-12030i196904-197010
main17430-12031i197010-197112
main17430-12032i197201-197310
main17430-12033i197310-197410
main17430-12040i196904-197310
main17430-12041i197310-197404
main17430-12052i197410-197511
main17430-12060i196911-197004
main17430-12061i197004-197410
main17430-24210i197511-197809
main17430-24220i197511-198808
main17430-24241i197511-197802
17430ABRACKET, EXHAUST TAILPIPE(FOR FRONT)
main17506-24040i197511-197802
main17562-12010i196904-197310
main17562-12020i196904-197310
main17562-12021i197310-197404
main17562-12022i197404-197809
main17562-12030i196911-198808
main17562-12040i197310-197511
17430SBRACKET, EXHAUST TAILPIPE (FOR REAR)
main17507-24040i197511-197802
main17563-12010i196904-197112
main17563-12011i197201-197511
main17563-12020i196904-197809
main17563-12031i197707-198108
17430WCLAMP NO.2, EXHAUST TAILPIPE (FOR REAR)
main90461-23110i197201-197809
main90461-23276i196911-198808
main90461-23643i197010-197112
17448BAFFLE, TAILPIPE
main17448-22010i197405-197802
WEST GERMANY SPEC
17451GASKET, EXHAUST PIPE
main17451-22010i197410-197511
main90917-06006i197511-198808
17457JOINT, EXHAUST PIPE
main17457-22010i196904-197511
17510MUFFLER ASSY
main17540-12010i196904-197112
main17540-12011i197201-197511
main17540-12020i196911-197004
main17540-12021i197004-197511
9111140825
9111140828
9161140616
9161140818
9161140820
9165140818
9411040600
9411040800
9451200800
9461210800

22 parts on this diagram · 7 diagrams in section

EXHAUST PIPE — Toyota Parts Diagram with OEM Numbers & Prices | EPC Data