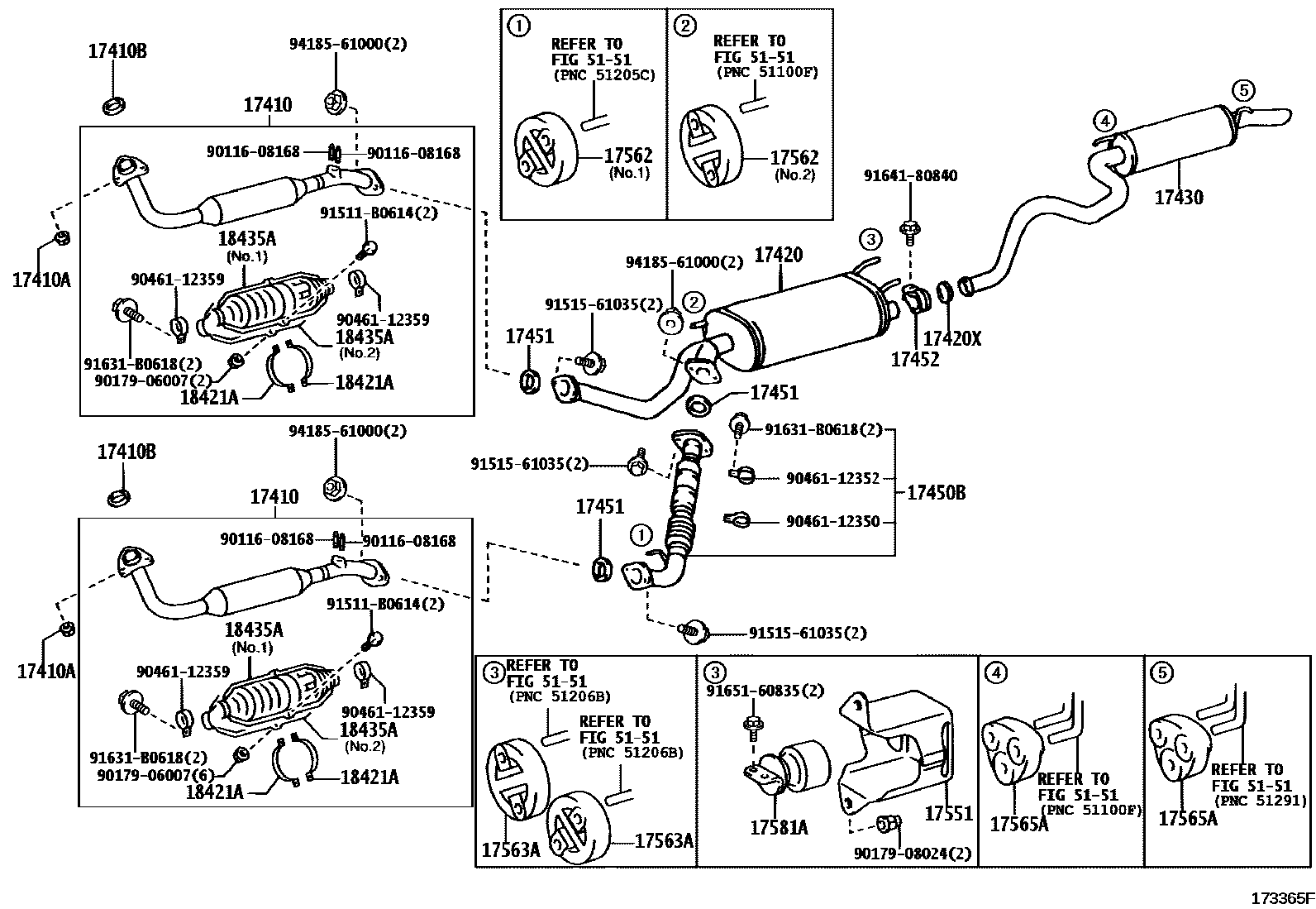
EXHAUST PIPE

17410PIPE ASSY, EXHAUST, FRONT
*114=TOYOTA/HA2/Y
17410ANUT, EXHAUST PIPE SET STUD BOLT
17410BGASKET, EXHAUST PIPE
17420PIPE ASSY, EXHAUST, CENTER
CHINA SPEC
17420XGASKET, EXHAUST PIPE, CENTER
17430PIPE ASSY, EXHAUST, TAIL
17450BPIPE ASSY, EXHAUST, FRONT NO.2
17451GASKET, EXHAUST PIPE
17452CLAMP, EXHAUST PIPE
17551INSULATOR, EXHAUST PIPE HEAT, NO.1
17562SUPPORT, EXHAUST PIPE, NO.2
NO.1
NO.2
17563ASUPPORT, EXHAUST PIPE, NO.3
17565ASUPPORT, EXHAUST PIPE, NO.4
17581ADAMPER, EXHAUST PIPE
18421ASTAY, CONVERTER PROTECTOR, LH
18435APROTECTOR, MONOLITHIC CONVERTER
NO.1
NO.2
5151FRAME
9011608168
main90116-08168
9017906007
main90179-06007
9017908024
main90179-08024
9046112350
main90461-12350
9046112352
main90461-12352
9046112359
main90461-12359
91511B0614
main91511-B0614
9151561035
main91515-61035
91631B0618
main91631-B0618
9164180840
main91641-80840
9165160835
main91651-60835
9418561000
main94185-61000
29 parts on this diagram · 1 diagram in section