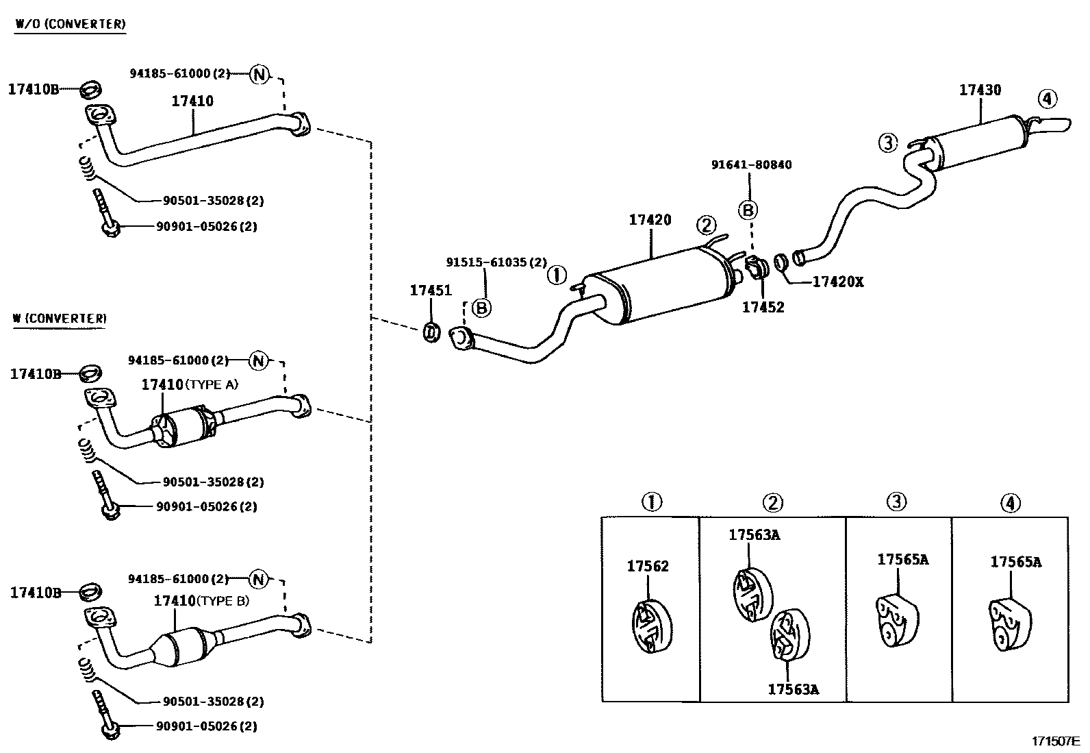
EXHAUST PIPE

17410PIPE ASSY, EXHAUST, FRONT
*114=TOYOTA/M06/N,TYPE A:REFER TO ILLUSTRATION
W/O(CONVERTER)
*114=TOYOTA/AD9/N,W(CONVERTER) & TYPE B:REFER TO ILLUSTRATION
*115=TOYOTA/98-01/N
*114=TOYOTA/HA2/Y
17410BGASKET, EXHAUST PIPE
17420XGASKET, EXHAUST PIPE, CENTER
17430PIPE ASSY, EXHAUST, TAIL
17451GASKET, EXHAUST PIPE
17452CLAMP, EXHAUST PIPE
17562SUPPORT, EXHAUST PIPE, NO.2
NO.1
NO.1
NO.2; TURKEY SPEC;POLAND SPEC;SLOVENIA SPEC;HUNGARY SPEC
17563ASUPPORT, EXHAUST PIPE, NO.3
17565ASUPPORT, EXHAUST PIPE, NO.4
9050135028
main90501-35028
9090105026
main90901-05026
9151561035
main91515-61035
9164180840
main91641-80840
9418561000
main94185-61000
15 parts on this diagram · 4 diagrams in section