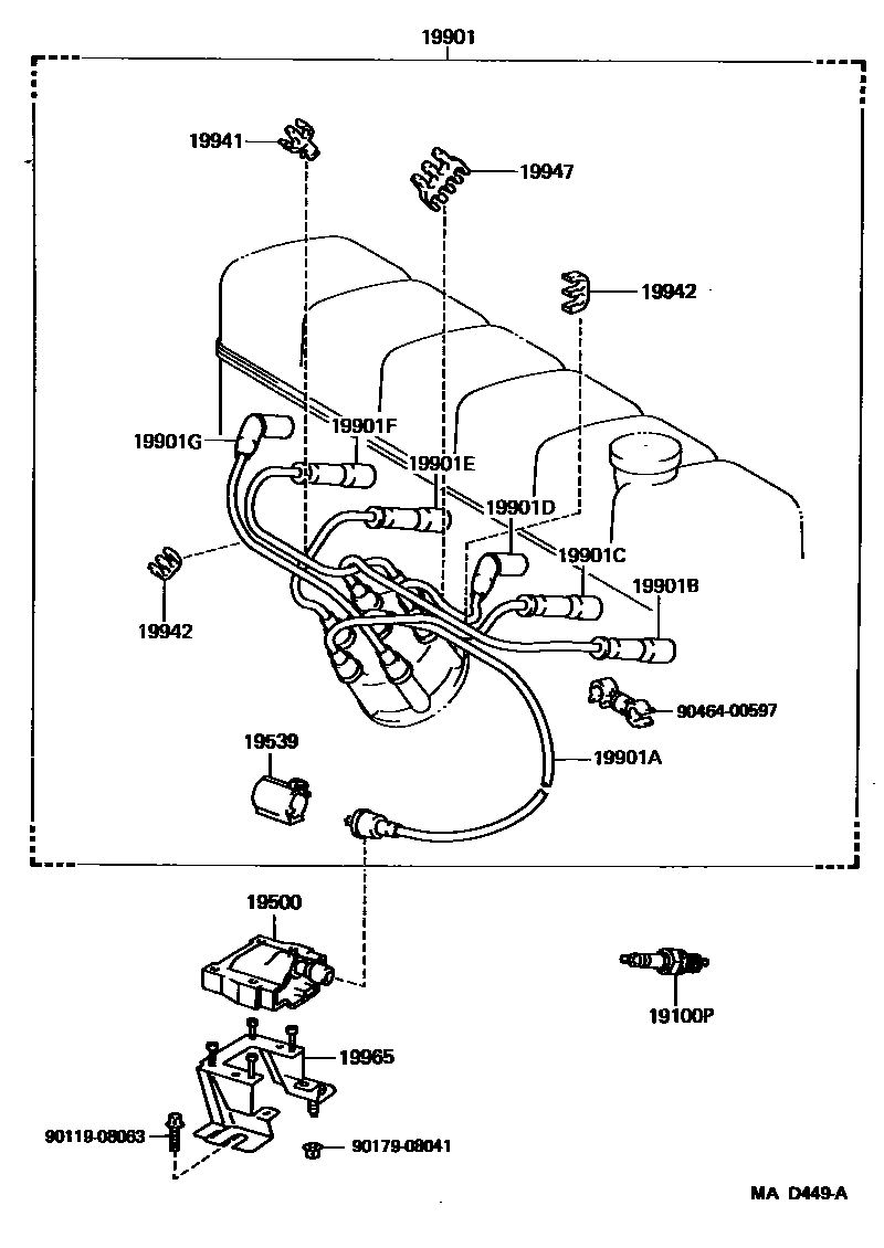
IGNITION COIL & SPARK PLUG / GLOW PLUG

19100PPLUG, SPARK
W16EXR-U11
K16R-U
19500COIL ASSY, IGNITION
19539HOLDER, RESISTIVE CODE, NO.4
MARK A
MARK C
19901CORD SET, COIL & SPARK, W/RESISTIVE
19901ACORD, COIL RESISTIVE
19901BCORD, SPARK PLUG RESISTIVE, NO.1
19901CCORD, SPARK PLUG RESISTIVE, NO.2
19901DCORD, SPARK PLUG RESISTIVE, NO.3
19901ECORD, SPARK PLUG RESISTIVE, NO.4
19901FCORD, SPARK PLUG RESISTIVE, NO.5
19901GCORD, SPARK PLUG RESISTIVE, NO.6
19941CLAMP, RESISTIVE CORD, NO.1
19942CLAMP, RESISTIVE CORD, NO.2
19947CLAMP, RESISTIVE CORD, NO.4
19965BAND, IGNITION COIL, NO.1
9011908063
main90119-08063
9017908041
main90179-08041
9046400597
main90464-00597
18 parts on this diagram · 4 diagrams in section