E
EPC Data

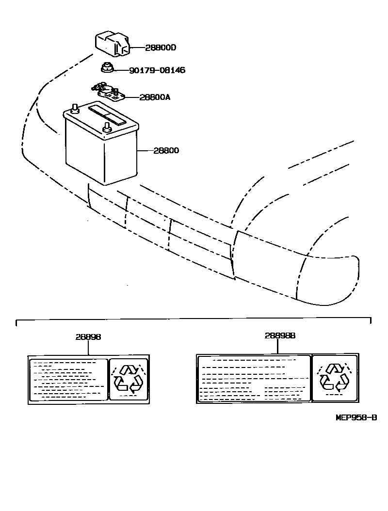
BATTERY & BATTERY CABLE

Parts diagram
28800BATTERY
main28800-46090i199210-199501
75D31L,75D31L-MF(70AH)
main28800-46091i199611-199801
main28800-61030i199009-199208
75D31R
main28800-61150i199001-199009
75D31R
main28800-66010i199208-199308
105D31L
main28800-66020i199308-199611
105D31
main28800-66021i199611-199801
105D31L
28800ATERMINAL, BATTERY POSITIVE
main90982-05022i199001-199208
main90982-05030i199208-199801
28800DCOVER, CONNECTOR(FOR BATTERY TERMINAL)
main82821-12150i199001-199011
main82821-60010i199011-199801
28898PLATE, BATTERY
main28898-26010i199001-199611
28898BPLATE, BATTERY
main28898-50140×2i199208-199801
9017908146

6 parts on this diagram · 1 diagram in section

BATTERY & BATTERY CABLE — Toyota Parts Diagram with OEM Numbers & Prices | EPC Data