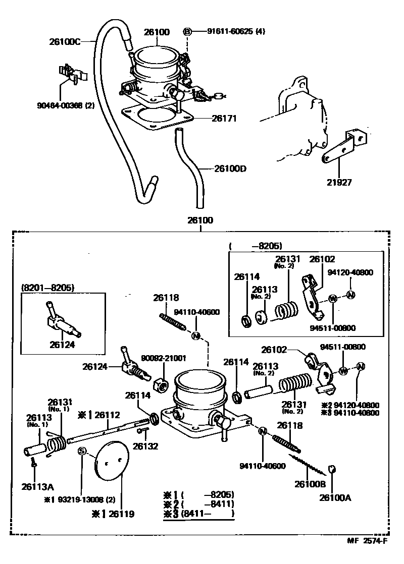
VENTURI

21927SUPPORT, WIRE(FOR ACCELERATOR BELLCRANK)
26100VENTURI ASSY
26100ASEAL, LEAD
26100CHOSE, VACCUM, NO.1(VENTURI TO GOVERNOR)
26100DHOSE, VACCUM, NO.2(VENTURI TO GOVERNOR)
26102LEVER SUB-ASSY, THROTTLE SHAFT ADJUSTING
NO.1
NO.2
26112SHAFT, VENTURI THROTTLE VALVE
26113COLLAR, THROTTLE VALVE SHAFT
NO.1
NO.2
NO.1
NO.1
NO.2
NO.1; NO.2
NO.2
26113APIN, THROTTLE VALVE SHAFT
26114WASHER, THROTTLE VALVE SHAFT ADJUSTING
T=0.1,T=0.1
T=0.2,T=0.2
T=0.5,T=0.5
26118SCREW, STOP PLATE ADJUSTING
26119VALVE, VENTURI THROTTLE
26124CONNECTOR, VENTURI PIPE
26131SPRING, RETURN
NO.2
NO.1
NO.1
NO.2
NO.2
NO.1
NO.1
26132PIN
NO.1
NO.2
26171GASKET, VENTURI
9009221001
main90092-21001
9046400368
main90464-00368
9161160625
main91611-60625
9321913008
main93219-13008
9411040600
main94110-40600
9411040800
main94110-40800
9412040800
main94120-40800
9451100800
main94511-00800
25 parts on this diagram · 4 diagrams in section