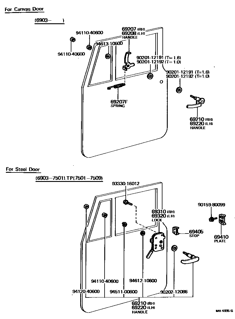
FRONT DOOR LOCK & HANDLE

69207HANDLE SUB-ASSY, FRONT DOOR INSIDE, RH
AUSTRALIA SPEC.
FOR STEEL DOOR
FOR STEEL DOOR
FOR CANVAS DOOR
FOR CANVAS DOOR
69207FSPRING, TENSION(FOR FRONT DOOR INSIDE HANDLE)
FOR CANVAS DOOR
69208HANDLE SUB-ASSY, FRONT DOOR INSIDE, LH
AUSTRALIA SPEC.
FOR STEEL DOOR
FOR STEEL DOOR
FOR CANVAS DOOR
FOR CANVAS DOOR
69210HANDLE ASSY, FRONT DOOR, OUTSIDE RH
FOR CANVAS DOOR
FOR STEEL DOOR
FOR STEEL DOOR
AUSTRALIA SPEC.
69220HANDLE ASSY, FRONT DOOR OUTSIDE, LH
FOR CANVAS DOOR
FOR STEEL DOOR
FOR STEEL DOOR
AUSTRALIA SPEC.
69310LOCK ASSY, FRONT DOOR, RH
AUSTRALIA SPEC.
FOR STEEL DOOR
69320LOCK ASSY, FRONT DOOR, LH
FOR STEEL DOOR
AUSTRALIA SPEC.
69405STOP SUB-ASSY, DOOR DOWN
69410PLATE ASSY, FRONT DOOR LOCK STRIKER
RH.
RH.
AUSTRALIA SPEC.
RH.
LH.
LH.
LH.
9015980099
main90159-80099
9020112191
main90201-12191
9020112192
main90201-12192
9020212086
main90202-12086
9333016012
main93330-16012
9411040600
main94110-40600
9412040600
main94120-40600
9451100600
main94511-00600
9461210600
main94612-10600
9461310600
main94613-10600
19 parts on this diagram · 3 diagrams in section