E
EPC Data

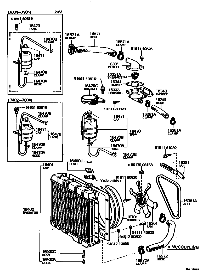
RADIATOR & WATER OUTLET

Parts diagram
16261HOSE, WATER BY-PASS
main16261-56011i197402-198007
main16261-60011i196903-198007
main90910-06014i197209-198007
16261ACLAMP OR CLIP, HOSE(FOR WATER BY-PASS HOSE)
main90044-60053×2i197402-198007
main90460-33020×2i196903-197103
main96112-10270×2i197209-198007
main96112-10330×2i197103-198007
16331OUTLET, WATER
main16301-60060i197309-197501
W/SPARK CONTROL VALVE DENSO
main16331-56010i197204-198007
main16333-60070i196903-197901
main16333-60080i196903-197501
FOR TROPICAL
main16333-61010i197509-197608
FOR TROPICAL WITH OIL COOLER
main16333-61020i197509-197608
W/OIL COOLER
main16333-61021i197901-198007
W/OIL COOLER
main16333-61040i197901-198007
16331ATHERMOSTAT
main90916-03012i196903-197501
WAX 76.5-90 FUJI-THOMSON
main90916-03014i197501-198007
WAX 82-95 FUJI-THOMSON
main90916-03019i197209-197709
WAX 76.5-90 FUJI-THOMSON
main90916-03026i197709-198007
*WAX 82-95,WAX 82-95 FUJI-THOMSON
main90916-03031i197402-197411
WAX 76.5-90 ONISHI SEIKI
main90916-03032i197402-197709
WAX 82-95 NIHON THERMOSTAT
main90916-03039i197709-198007
*WAX 82-95,WAX 82-95 NIHON THERMOSTAT
16333HOUSING, WATER OUTLET
main16331-60040i196903-197901
main16331-61020i197608-197901
NEW SOUTH WALES
main16331-61031i197901-198007
NEW SOUTH WALES
main16331-61040i197901-198007
main16333-47011i197209-198002
main16333-47012i198002-198007
main16333-47020i197904-198007
L/THERMOSTAT
main16333-56011i197402-197811
main16333-56012i197811-198007
16341GASKET, WATER OUTLET
main16341-51010i197811-198007
main16341-56010i197802-197811
main16341-60020i196903-198007
16343GASKET, WATER OUTLET HOUSING
main16343-47010i197204-198007
main16343-56010i197402-197709
main16343-56011i197709-198007
main16343-60010i196903-198007
16361FAN
main16361-38010i197901-198007
W/COUPLING,7 BLADES
main16361-41050i197709-197901
W/COUPLING,7 BLADES
main16361-47010i198004-198007
6 BLADES
main16361-47030i198004-198007
main16361-56020i197402-197901
6 BLADES
main16361-60050i196903-197310
4 BLADES
main16361-60060i196903-197310
5 BLADES
main16361-60080i197804-197901
HONG KONG SPEC.
main16361-60090i197608-198007
6 BLADES
main16361-60100i197501-197604
8 BLADES 0/S FAN; 8 BLADES W/COOLER
main16361-60101i197604-198004
8 BLADES 0/S FAN
main16361-61010i197804-197901
HONG KONG SPEC.
main16361-61011i197901-198007
HONG KONG SPEC.
main16361-61020i197909-198007
TEMPERD TYPE,W/COOLER
16361ABELT, V(FOR FAN & ALTERNATOR)
main90916-02044i197501-197901
L=1065
main90916-02045i197501-198007
L=1075 12V 50A ALTER.
main90916-02047i197804-198007
NEW SOUTH WALES
main90916-02065i197709-198007
main99323-01175i197807-197901
L=1175
main99343-01175i197901-198007
L=1175
main99523-11046i196903-197501
L=1046
main99523-11067i197010-197501
L=1067 12V 55A ALTER.
main99523-11152i197204-197709
main99523-11176i197402-197807
L=1176
16381BAR, FAN BELT ADJUSTING
main16381-47010i197204-197306
main16381-47012i197306-198007
main16381-56010i197402-197709
main16381-56020i197709-198007
main16381-60081i196903-198007
main16381-61010i197804-197901
NEW SOUTH WALES
main16381-61011i197901-198007
NEW SOUTH WALES
16400RADIATOR ASSY
main16400-47060i198004-198007
main16400-49265i197204-197610
main16400-49266i197709-197803
main16400-49267i197803-198007
main16400-49356i197709-198004
main16400-59025i197901-198007
main16400-59045i197901-198007
W/COOLER
main16400-60011i196903-197111
main16400-60012i197111-197501
main16400-60120i197108-197112
main16400-60121i197112-197310
main16400-60122i197310-197501
main16400-60130i196903-196910
main16400-60131i196910-197108
main16400-61010i197501-197509
main16400-61011i197509-197901
main16400-61012i197901-198007
main16400-61020i197501-198007
main16400-61030i197909-198007
TEMPERD TYPE,W/COOLER
16400BPLUG, RADIATOR DRAIN COCK
main90910-09016i196903-197308
main90910-09029i196903-196910
main96431-23814i197308-198007
16400CBODY, RADIATOR DRAIN COCK
main90910-09066i197806-198007
16400JPLATE, RADIATOR CAP CAUTION
main16595-48020i197204-197605
16401CAP SUB-ASSY, RADIATOR
main16401-23070i197402-197501
main16401-40120i196903-197111
main16401-41020i197605-197808
main16401-41021i197808-198007
main16401-49015i197204-197605
main16401-60040i196903-197111
main16407-60010i197111-197402
16470TANK ASSY, RADIATOR RESERVE
main16470-47010i197501-197601
main16470-47011i197601-197709
main16470-56030i197402-197604
main16470-56031i197709-197901
12V
main16470-56041i197709-197901
24V
main16470-61010i197501-197709
main16480-24010i197901-198007
main16480-95D00i197901-198007
16470AHOSE OR PIPE(FOR RADIATOR RESERVE TANK)
main90445-12023i197901-198007
L=600(*H,L=380),24V
main90445-12046i197604-197709
L=1000(*H,L=760)
main90445-12048i197901-198007
L=600(*H,L=200),24V
main90445-12078i197901-198007
L=600,12V
main90445-12560i197709-197901
L=920(*H,L=840),24V
main90445-12897i197501-197709
16470BCLAMP OR CLIP(FOR RADIATOR RESERVE TANK HOSE)
main90467-11085×2i197204-197501
16470CBRACKET(FOR RADIATOR RESERVE TANK)
main16402-56010i197901-198007
24V
main16402-56040i197901-198007
12V
main16402-61010i197601-197709
16471CAP SUB-ASSY, RESERVE TANK
main16405-47010i197901-198007
24V
main16405-47020i198004-198007
main16405-56010i197901-198007
24V
main16405-56020i197901-198007
12V
main16405-60020i197709-198007
main16405-60030i198004-198007
main16471-41060i197501-197709
main16471-56030i197501-197709
16571HOSE, RADIATOR, INLET
main16571-47010i197204-198004
main16571-47030i198004-198007
main16571-56010i197402-198007
main16571-60050i196903-197310
main16571-60060i196903-197608
main16571-60140i197310-197901
main16571-61040i197608-197901
main16571-61041i197901-198007
main16571-61060i197901-198007
16571ACLAMP OR CLIP, HOSE(FOR RADIATOR INLET)
main90460-49062×2i196912-197901
main90460-50016×2i196903-196912
main96111-10490×2i197901-198007
main96111-10500×2i197901-198007
16572HOSE, RADIATOR, OUTLET
main16571-60090i197010-197310
W/COOLER RADIATOR SIDE
main16571-60091i197310-197501
W/COOLER RADIATOR SIDE
main16571-61050i197608-198007
RADIATOR SIDE
main16571-61070i197901-198007
W/COOLER RADIATOR SIDE
main16572-47020i197810-197901
RADIATOR SIDE
main16572-47021i198004-198007
main16572-47030i198004-198007
main16572-56020i197402-198007
main90916-01055i196903-198007
PUMP SIDE
main90916-01056i196903-198007
PUMP SIDE
main90916-01057i196903-197310
RADIATOR SIDE
main90916-01058i196903-197608
RADIATOR SIDE
main90916-01072i197204-197901
PUMP SIDE
main90916-01073i197204-197810
RADIATOR SIDE
main90916-01096i197010-197501
W/COOLER PUMP SIDE
main90916-01137i197310-198007
RADIATOR SIDE
main90916-01142i197509-197901
W/COOLER PUMP SIDE
main90916-01163i197901-198007
W/COOLER PUMP SIDE
16572ACLAMP OR CLIP, HOSE(FOR RADIATOR OUTLET NO.1)
main90460-50016i196903-197203
ID=50
main90460-58013×3i196903-197901
ID=58
main96111-10490i197901-198007
ID=49
main96111-10500×3i197204-197812
ID=50(FJ=1)
main96111-10560i197204-197901
ID=56
main96111-10570i197901-198007
ID=57
main96111-10580×3i197901-198007
ID=58
main96111-10600×2i197901-198007
ID=60,W/COOLER
16701SHROUD SUB-ASSY, FAN
main16701-56020i197402-197901
main16701-56021i197901-198007
main16711-47030i197204-198004
main16711-60011i196903-197209
main16711-60012i197209-197501
main16711-60051i196903-197501
W/ O/S FAN
main16711-60130i197010-197310
W/COOLER
main16711-60131i197310-197501
W/COOLER
main16711-60150i197108-197310
main16711-60151i197310-197501
main16711-60200i198004-198007
main16711-61010i197501-197509
main16711-61011i197509-197604
main16711-61012i197608-197901
main16711-61020i197501-197604
main16711-61021i197608-198007
main16711-61022i197604-197608
main16711-61030i197501-197604
FOR TROPICAL; FOR VEHICLE NOISE; O/S FAN
main16711-61031i197608-198004
O/S FAN
main16711-61032i197604-197608
FOR TROPICAL; FOR VEHICLE NOISE; O/S FAN
main16711-61040i197501-197509
FOR VEHICLE NOISE; W/COOLER OR O/S FAN
main16711-61041i197509-197604
FOR VEHICLE NOISE; W/COOLER OR O/S FAN
main16711-61042i197604-197608
FOR VEHICLE NOISE
main16711-61080i197909-198007
TEMPERD FAN OD=450 7 BLADES
main16711-61090i197608-197901
main16711-61091i197909-198007
TEMPERD FAN OD=430 7 BLADES
main16711-61100i197901-198007
main16711-61110i197901-198007
W/COOLER OR O/S FAN
9017906158
9046110857
9111140820
9161140825
9161160820
9161161020
9165140616
9165160816
9451200800
9461210800

35 parts on this diagram · 8 diagrams in section

RADIATOR & WATER OUTLET — Toyota Parts Diagram with OEM Numbers & Prices | EPC Data