E
EPC Data

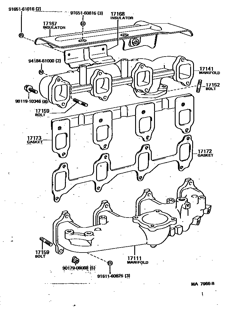
MANIFOLD

Parts diagram
17111MANIFOLD, INTAKE
main17101-35050i198812-199001
main17101-54051i198908
main17101-54080i198810-198908
AUSTRIA SPEC
main17101-54081i198908
AUSTRIA SPEC
main17111-35030i198411-198808
main17111-35090i198808-199001
main17111-56120i198411-198510
PORTUGAL SPEC
main17111-56130i198411-199001
main17111-58011i198510-199001
17141MANIFOLD, EXHAUST
main17141-35100i198411-199001
main17141-54022i198510-199001
main17141-54040i198411-198510
main17141-54050i198810-199001
AUSTRIA SPEC
main17141-56050i198411-198808
main17141-56060i198808-199001
main17141-58011i198510-199001
17152BOLT, STUD(FOR MANIFOLD TO EXHAUST PIPE)
main90116-10056i198411-198705
main90116-10087i198411-199001
main90116-10088i198411-199001
L=47,4,S=14 & 22
17159BOLT, STUD(FOR MANIFOLD TO CYLINDER HEAD)
main90116-08053i198411-198504
INTAKE MANIFOLD SIDE
main90116-08172i198411-199001
INTAKE MANIFOLD SIDE
main90116-08220i198504-199001
INTAKE MANIFOLD SIDE
main90116-10061i198510-198706
EXHAUST MANIFOLD SIDE
main90116-10064i198411-199001
EXHAUST MANIFOLD SIDE LWR
main90116-10067i198411-199001
EXHAUST MANIFOLD SIDE UPR
main90116-10091i198411-198510
EXHAUST MANIFOLD SIDE
main90116-10098i198411-199001
EXHAUST MANIFOLD
main90116-10140i198706-199001
EXHAUST MANIFOLD SIDE
main92122-60825i198812-199001
L=37,S=12&12
main92132-60825i198411-199001
INTAKE MANIFOLD
17167INSULATOR, EXHAUST MANIFOLD HEAT, NO.1
main17107-54011i198510-199001
main17167-54041i198411-198510
main17167-56022i198411-198708
main17167-56023i198708-198808
main17167-56040i198808-199001
main17167-58011i198510-199001
17168INSULATOR, EXHAUST MANIFOLD HEAT, NO.2
main17166-54010i198510-199001
main17167-35070i198411-198808
main17167-35160i198808-199001
main17167-35180i198812-199001
main17168-54011i198411-198510
main17168-56010i198808-199001
main17168-58021i198411-198708
main17168-58022i198708-198808
main17168-58040i198510-199001
17172GASKET, MANIFOLD TO CYLINDER HEAD
main17171-56010i198808-199001
main17172-56022i198411-198808
17173GASKET, EXHAUST MANIFOLD TO HEAD
main17173-35060i198411-198808
main17173-35120i198808-199001
main17173-54011i198411-198510
main17173-54020i198510-199001
main17173-56040i198808-199001
main17173-58010i198411-199001
9011910346
9017908088
9161160825
9165160816
9165161016
9418461000

14 parts on this diagram · 9 diagrams in section

MANIFOLD — Toyota Parts Diagram with OEM Numbers & Prices | EPC Data