E
EPC Data

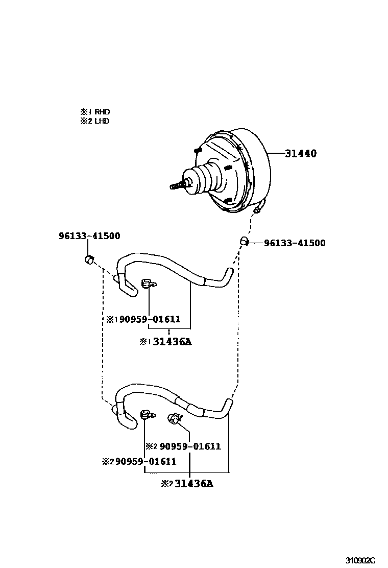
CLUTCH BOOSTER

Parts diagram
31436AHOSE, NO.1(FOR CLUTCH BOOSTER VACUUM)
main31436-37030i200110-200610
main31436-37060i200110-201208
31440BOOSTER ASSY, CLUTCH W/AIR CLEANER
main31440-37030i200701-200901
main31440-37041i200411-200701
main31440-37080i200110-201208
main31440-37100i200212-200610
9095901611
9613341500

4 parts on this diagram · 2 diagrams in section

CLUTCH BOOSTER — Toyota Parts Diagram with OEM Numbers & Prices | EPC Data