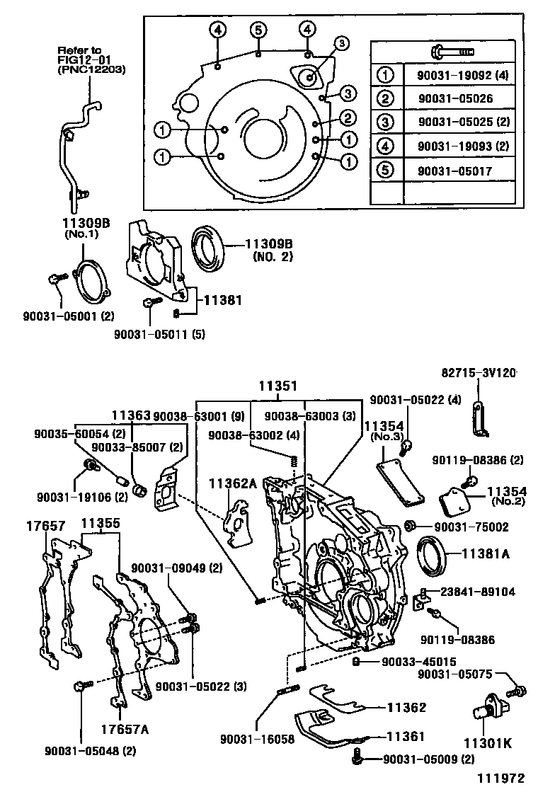
TIMING GEAR COVER & REAR END PLATE

11301KSENSOR, CRANK POSITION
11309BSEAL(FOR OIL SEAL RETAINER)
NO.1
NO.2
11351HOUSING, FLYWHEEL
11354SEAL, FLYWHEEL HOUSING DUST
NO.1
NO.2
NO.3
11355PLATE, REAR END
11361COVER, FLYWHEEL HOUSING UNDER
11362INSULATOR, FLYWHEEL HOUSING(FOR UNDER COVER)
11362AINSULATOR, FLYWHEEL HOUSING(FOR SIDE COVER)
11363COVER, FLYWHEEL SIDE
11381RETAINER, ENGINE REAR OIL SEAL
11381ASEAL, ENGINE REAR OIL
1201VENTILATION HOSE
17657GASKET, REAR PLATE
17657AGASKET, REAR PLATE, NO.2
2384189104CLAMP, FUEL PIPE(HOSE), NO.1
main23841-89104
827153V120BRACKET,WIRING HARNESS CLAMP
main82715-3V120
9003105001
main90031-05001
9003105009
main90031-05009
9003105011
main90031-05011
9003105017
main90031-05017
9003105022
main90031-05022
9003105025
main90031-05025
9003105026
main90031-05026
9003105048
main90031-05048
9003105075
main90031-05075
9003109049
main90031-09049
9003116058
main90031-16058
9003119092
main90031-19092
9003119093
main90031-19093
9003119106
main90031-19106
9003175002
main90031-75002
9003345015
main90033-45015
9003385007
main90033-85007
9003560054
main90035-60054
9003863001
main90038-63001
9003863002
main90038-63002
9003863003
main90038-63003
9011908386
main90119-08386
38 parts on this diagram · 3 diagrams in section