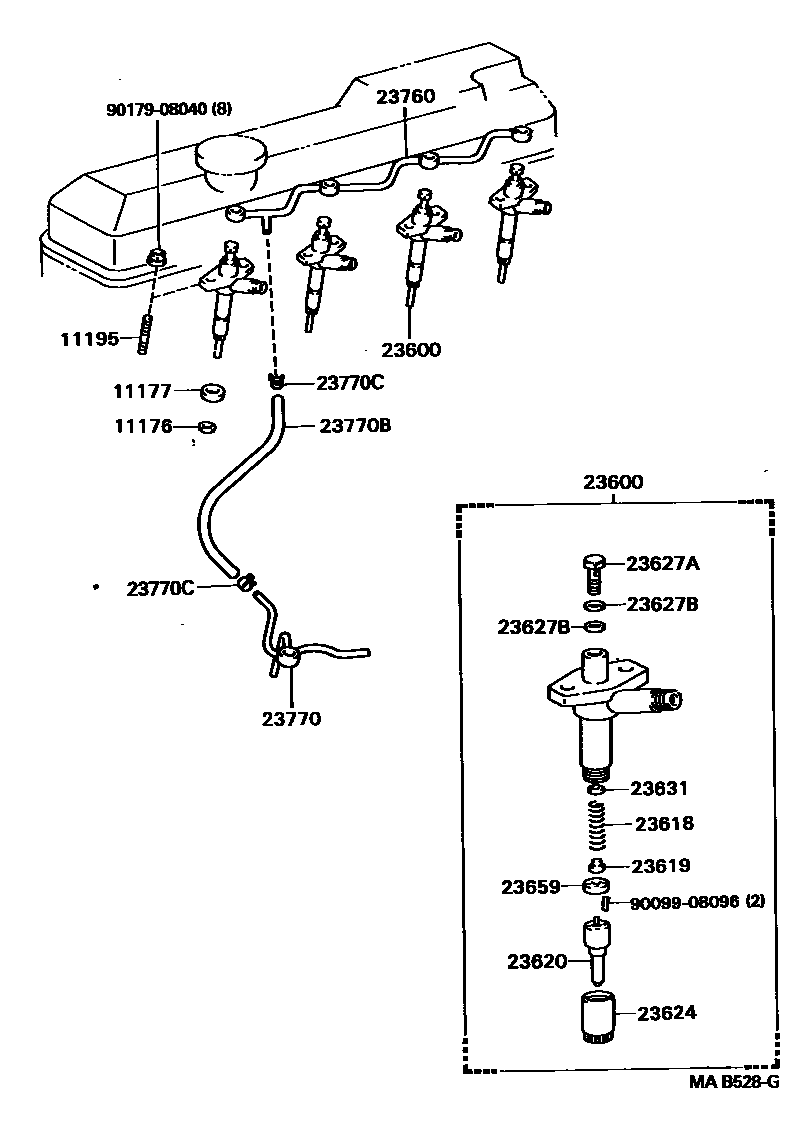
INJECTION NOZZLE

11177GASKET, INJECTION NOZZLE SEAT
11195BOLT, NOZZLE SET, STUD
23618SPRING, NOZZLE HOLDER PRESSURE
23619PIN, NOZZLE HOLDER PRESSURE
23620NOZZLE ASSY
23627ASCREW, FOLLOW(FOR NOZZLE)
23627BWASHER, COPPER PLATE(FOR NOZZLE)
23631WASHER(FOR NOZZLE HOLDER PRESSURE SPRING)
T=1.000
T=1.000
T=1.050
T=1.100
T=1.150
T=1.200
T=1.250
T=1.300
T=1.350
T=1.400
T=1.450
T=1.050
T=1.500
T=1.550
T=1.600
T=1.650
T=1.700
T=1.750
T=1.800
T=1.275
T=1.325
T=1.375
T=1.100
T=1.425
T=1.475
T=0.950
T=0.700
T=0.750
T=0.800
T=0.850
T=0.900
T=0.975
T=1.025
T=1.150
T=1.075
T=1.125
T=1.175
T=1.225
T=1.200
T=1.250
T=1.300
T=1.350
T=1.400
T=1.450
T=1.500
T=1.550
T=1.600
T=1.650
T=1.700
T=1.750
T=1.800
T=1.850
T=1.900
T=1.950
23659PACKING, TIP(FOR NOZZLE)
23760PIPE ASSY, NOZZLE LEAKAGE
23770PIPE ASSY, NOZZLE LEAKAGE, NO.2
23770BHOSE, FUEL
L=200
9009908096
main90099-08096
9017908040
main90179-08040
18 parts on this diagram · 2 diagrams in section