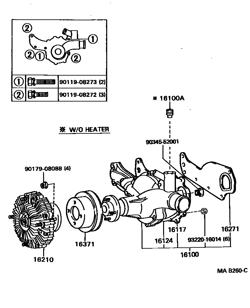
WATER PUMP

16100PUMP ASSY, ENGINE WATER
16100APLUG, WATER PUMP
16117PLATE, WATER PUMP
16124GASKET, WATER PUMP COVER
16210COUPLING ASSY, FLUID
16271GASKET, WATER PUMP
16371PULLEY, FAN
9011908272
main90119-08272
9011908273
main90119-08273
9017908088
main90179-08088
9034552001
main90345-52001
9322016014
main93220-16014
12 parts on this diagram · 1 diagram in section