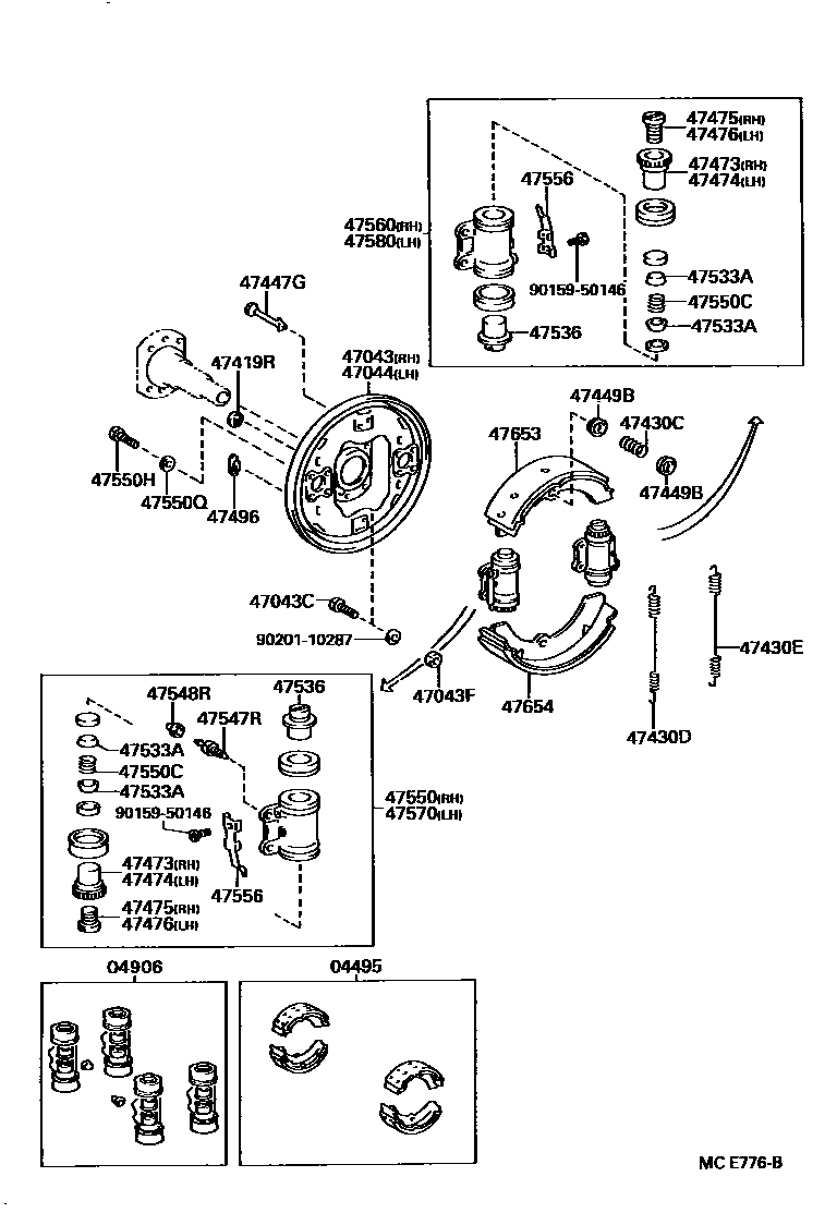
REAR DRUM BRAKE WHEEL CYLINDER & BACKING PLATE

04495SHOE KIT, REAR BRAKE
W(FR DISC BRAKE RR AUTO ADJUSTER)
04906CUP KIT, REAR WHEEL CYLINDER
W(FR DISC BRAKE RR AUTO ADJUSTER)
47043PLATE SUB-ASSY, BRAKE BACKING, REAR RH
47043CBOLT(FOR BACKING PLATE TO REAR AXLE HOUSING SETTING)
*10-1.25PX31-21.5
47043FNUT(FOR BACKING PLATE TO REAR AXLE HOUSING SETTING)
47044PLATE SUB-ASSY, BRAKE BACKING, REAR LH
47419RPLUG, HOLE(FOR REAR BRAKE)
47430CSPRING(FOR REAR BRAKE SHOE HOLD DOWN)
47430DSPRING, TENSION(FOR REAR BRAKE SHOE RETURN)
47430ESPRING, TENSION(FOR REAR BRAKE SHOE RETURN)
47447GPIN, SHOE HOLD DOWN SPRING(FOR REAR BRAKE)
47449BCUP, SHOE HOLD DOWN SPRING(FOR REAR BRAKE)
47473NUT, REAR WHEEL CYLINDER ADJUSTING, RH(FOR REAR BRAKE)
47474NUT, REAR WHEEL CYLINDER ADJUSTING, LH(FOR REAR BRAKE)
47475BOLT, REAR WHEEL CYLINDER ADJUSTING, RH (FOR REAR BRAKE)
W(FR DISC BRAKE RR AUTO ADJUSTER)
47476BOLT, REAR WHEEL CYLINDER ADJUSTING, LH(FOR REAR BRAKE)
W(FR DISC BRAKE RR AUTO ADJUSTER)
47496PLUG, HOLE(FOR REAR BRAKE)
W(FR DISC BRAKE RR AUTO ADJUSTER)
47533ASEAT, WHEEL CYLINDER PISTON SPRING(FOR REAR BRAKE)
W(FR DISC BRAKE RR AUTO ADJUSTER)
47536PISTON, WHEEL BRAKE CYLINDER(FOR REAR BRAKE)
W(FR DISC BRAKE RR AUTO ADJUSTER)
47547RPLUG, BLEEDER(FOR DRUM BRAKE, REAR)
47548RCAP, BLEEDER PLUG(FOR DRUM BRAKE, REAR)
47550CYLINDER ASSY, REAR WHEEL BRAKE(FOR RH, FRONT OR UPPER)
W(FR DISC BRAKE RR AUTO ADJUSTER)
47550CSPRING, COMPRESSION(FOR REAR WHEEL BRAKE CYLINDER)
W(FR DISC BRAKE RR AUTO ADJUSTER)
47550HBOLT(FOR REAR WHEEL CYLINDER)
47550QWASHER(FOR REAR WHEEL CYLINDER)
47556SPRING, ADJUSTER LOCK(FOR REAR BRAKE)
47560CYLINDER ASSY, REAR WHEEL BRAKE(FOR RH, REAR OR LOWER)
W(FR DISC BRAKE RR AUTO ADJUSTER)
47570CYLINDER ASSY, REAR WHEEL BRAKE(FOR LH, FRONT OR UPPER)
W(FR DISC BRAKE RR AUTO ADJUSTER)
47580CYLINDER ASSY, REAR WHEEL BRAKE(FOR LH, REAR OR LOWER)
W(FR DISC BRAKE RR AUTO ADJUSTER)
47653LINING, REAR BRAKE SHOE(FOR FRONT OR UPPER)
W(FR DISC BRAKE RR AUTO ADJUSTER)
47654LINING, REAR BRAKE SHOE(FOR REAR OR LOWER)
W(FR DISC BRAKE RR AUTO ADJUSTER)
9015950146
main90159-50146
9020110287
main90201-10287
33 parts on this diagram · 2 diagrams in section