E
EPC Data

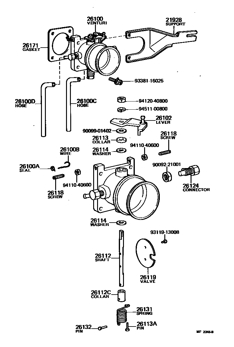
VENTURI

Parts diagram
21928SUPPORT, THROTTLE WIRE
main21928-48021i197903-198308
26100VENTURI ASSY
main26100-48021i197903-198308
26100ASEAL, LEAD
main22354-77050i197903-198308
26100BWIRE, SEAL
main22355-36010i197903-198308
26100CHOSE, VACCUM, NO.1(VENTURI TO GOVERNOR)
main90446-10331i197903-198308
26100DHOSE, VACCUM, NO.2(VENTURI TO GOVERNOR)
main90446-10331i197903-198308
26102LEVER SUB-ASSY, THROTTLE SHAFT ADJUSTING
main26102-48021i197903-198308
26112SHAFT, VENTURI THROTTLE VALVE
main26112-56010i197903-198308
26112CCOLLAR, ADJUSTING
main26113-56010i197903-198302
main26113-56011i198302-198308
26113COLLAR, THROTTLE VALVE SHAFT
main26113-47020i197903-198308
26113APIN, THROTTLE VALVE SHAFT
main26132-56011i197903-198308
26114WASHER, THROTTLE VALVE SHAFT ADJUSTING
main26114-76010i197903-198308
T=0.1,T=0.1
main26115-76010i197903-198308
T=0.2,T=0.2
main26116-76010i197903-198308
T=0.5,T=0.5
26118SCREW, STOP PLATE ADJUSTING
main26118-48014×2i197903-198308
26119VALVE, VENTURI THROTTLE
main26119-48010i197903-198308
26124CONNECTOR, VENTURI PIPE
main26124-48020i197903-198308
26131SPRING, RETURN
main26131-48014i197903-198308
26132PIN
main26132-56010i197903-198308
26171GASKET, VENTURI
main26171-46010i197903-198308
9009221001
9009901402
9311913008
9338116025
9411040600
9412040800
9451100800

25 parts on this diagram · 1 diagram in section

VENTURI — Toyota Parts Diagram with OEM Numbers & Prices | EPC Data