E
EPC Data

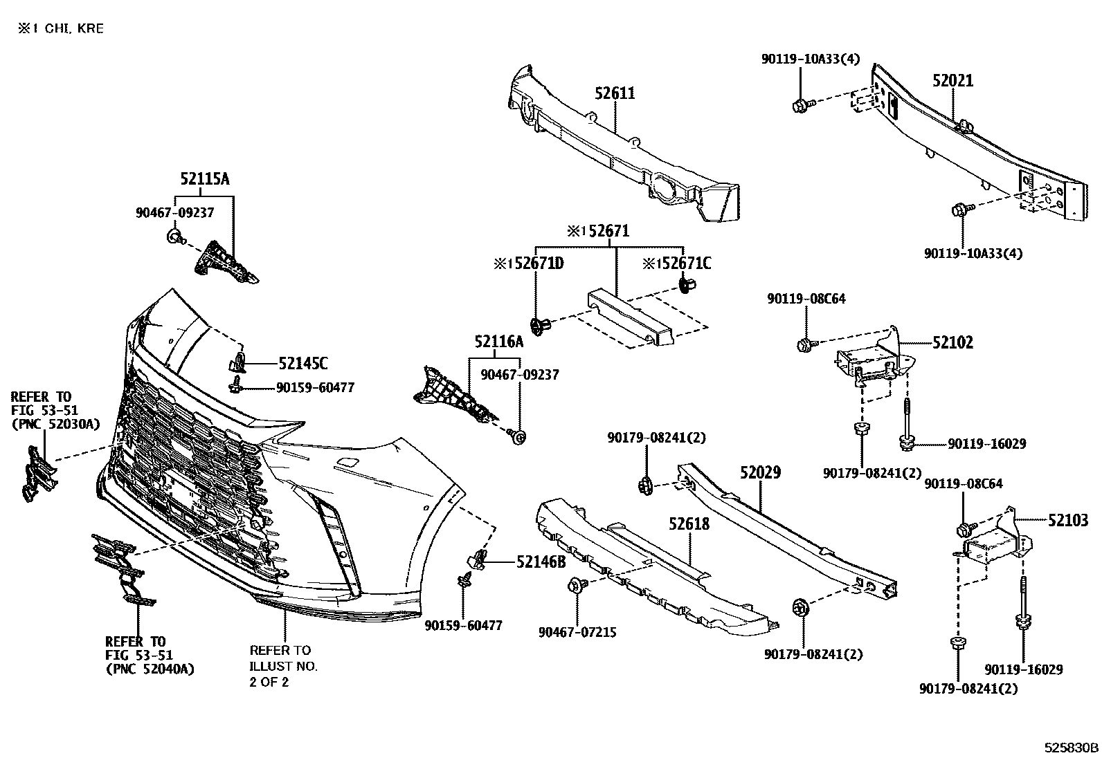
FRONT BUMPER & BUMPER STAY

Parts diagram
52021REINFORCEMENT SUB-ASSY, FRONT BUMPER
main52021-V2030i202306
main52021-V2040i202306
52029REINFORCEMENT SUB-ASSY, FRONT BUMPER, UPPER
main52029-V2010i202306
52102BRACKET SUB-ASSY, FRONT BUMPER, RH
main52102-V2010i202306
52103BRACKET SUB-ASSY, FRONT BUMPER, LH
main52103-V2010i202306
52115ASUPPORT, FRONT BUMPER SIDE, RH
main52115-V2040i202306
52116ASUPPORT, FRONT BUMPER SIDE, LH
main52116-V2040i202306
52145CBRACKET, FRONT BUMPER SIDE MOUNTING, RH
main52145-33110i202306
52146BBRACKET, FRONT BUMPER SIDE MOUNTING, LH
main52146-33110i202306
52611ABSORBER, FRONT BUMPER ENERGY
main52611-V2020i202306
52618ABSORBER, FRONT BUMPER, LOWER
main52618-V2020i202306
52671EXTENSION, FRONT BUMPER ARM
main52671-V2020i202306
52671CCLIP, FRONT BUMPER ARM EXTENSION, NO.1
main90467-17026-A0×2i202306
SUPER WHITE 2
52671DCLIP, FRONT BUMPER ARM EXTENSION, NO.2
main90467-17027-C0×2i202306
BLACK
5351
9011908C64
9011910A33
9011916029
9015960477
9017908241
9046707215
9046709237

21 parts on this diagram · 2 diagrams in section

FRONT BUMPER & BUMPER STAY — Toyota Parts Diagram with OEM Numbers & Prices | EPC Data