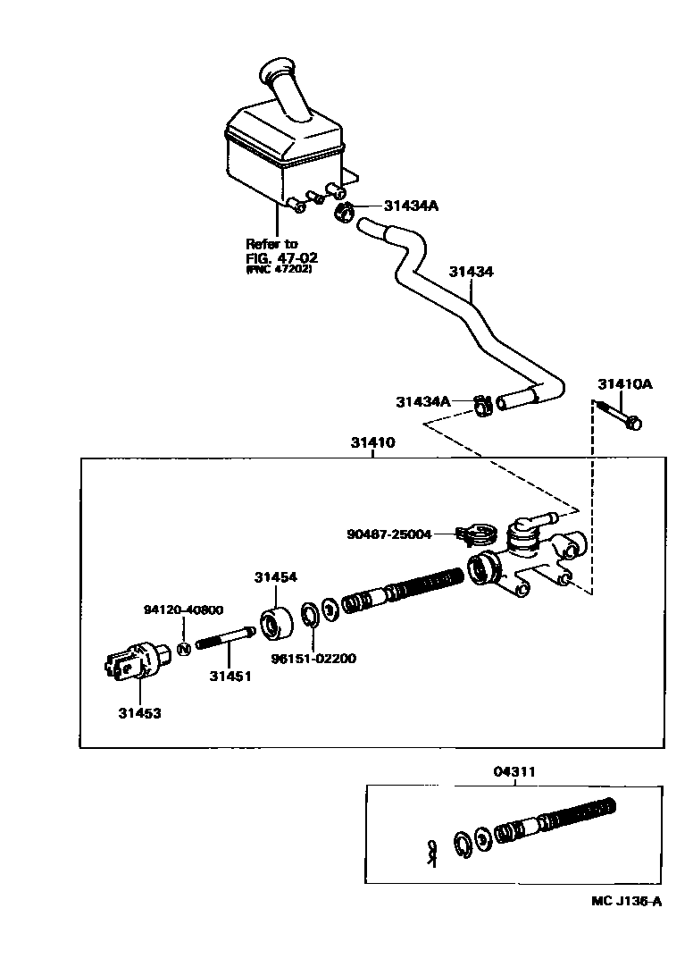
CLUTCH MASTER CYLINDER

04311CYLINDER KIT, CLUTCH MASTER
31410CYLINDER ASSY, CLUTCH MASTER
31410ABOLT(FOR CLUTCH MASTER CYLINDER SETTING)
31434TUBE, CLUTCH RESERVOIR
31434ACLIP(FOR CLUTCH RESERVOIR TUBE)
31451ROD, CLUTCH MASTER CYLINDER PUSH
31453CLEVIS, CLUTCH MASTER CYLINDER PUSH ROD
31454BOOT, CLUTCH MASTER CYLINDER
4702BRAKE MASTER CYLINDER
9046725004
main90467-25004
9412040800
main94120-40800
9615102200
main96151-02200
12 parts on this diagram · 1 diagram in section