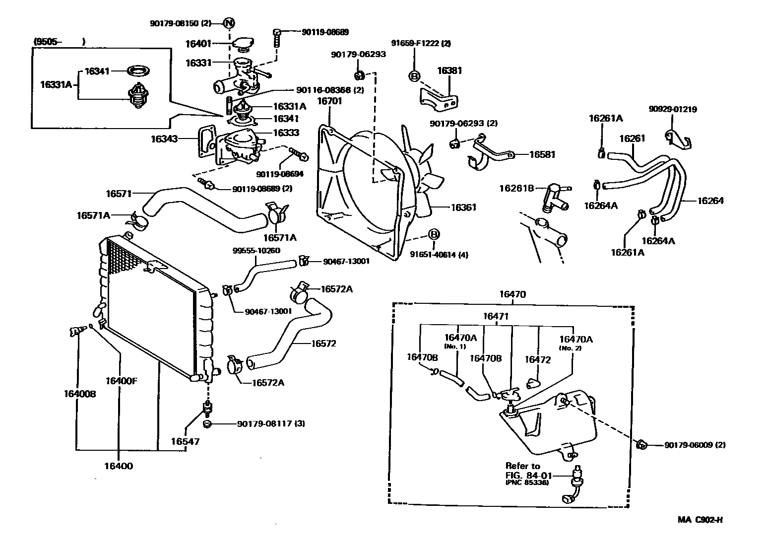
RADIATOR & WATER OUTLET

16261HOSE, WATER BY-PASS
16261ACLAMP OR CLIP, HOSE(FOR WATER BY-PASS HOSE)
16261BUNION(FOR WATER BY-PASS HOSE)
16264HOSE, WATER BY-PASS, NO.2
16264ACLAMP OR CLIP(FOR WATER BY-PASS HOSE NO.2)
16331OUTLET, WATER
16331ATHERMOSTAT
*WAX 88-100
*WAX 82-95
*WAX 88-100
*WAX 82-95
16333HOUSING, WATER OUTLET
16341GASKET, WATER OUTLET
16343GASKET, WATER OUTLET HOUSING
16381BAR, FAN BELT ADJUSTING
16400RADIATOR ASSY
16400BPLUG, RADIATOR DRAIN COCK
16400FPACKING(FOR RADIATOR DRAIN COCK)
16401CAP SUB-ASSY, RADIATOR
16470TANK ASSY, RADIATOR RESERVE
16470AHOSE OR PIPE(FOR RADIATOR RESERVE TANK)
NO.1
NO.2
L=600(*H,L=210),NO.1
L=600,NO.2
16470BCLAMP OR CLIP(FOR RADIATOR RESERVE TANK HOSE)
16471CAP SUB-ASSY, RESERVE TANK
16472HOSE, BREATHER
16547BUSH, RADIATOR SUPPORT, NO.1
16571HOSE, RADIATOR, INLET
16571ACLAMP OR CLIP, HOSE(FOR RADIATOR INLET)
16572HOSE, RADIATOR, OUTLET
16572ACLAMP OR CLIP, HOSE(FOR RADIATOR OUTLET NO.1)
RADIATOR SIDE
ENGINE SIDE
ENGINE SIDE
ENGINE SIDE
16581CLAMP, HOSE(FOR WATER HOSE)
16701SHROUD SUB-ASSY, FAN
8401SWITCH & RELAY & COMPUTER
9011608366
main90116-08366
9011908683
main90119-08683
9011908689
main90119-08689
9011908694
main90119-08694
9017906009
main90179-06009
9017906293
main90179-06293
9017908117
main90179-08117
9017908150
main90179-08150
9046713001
main90467-13001
9092901219
main90929-01219
9165140614
main91651-40614
91659F1222
main91659-F1222
9955510260
main99555-10260
42 parts on this diagram · 2 diagrams in section