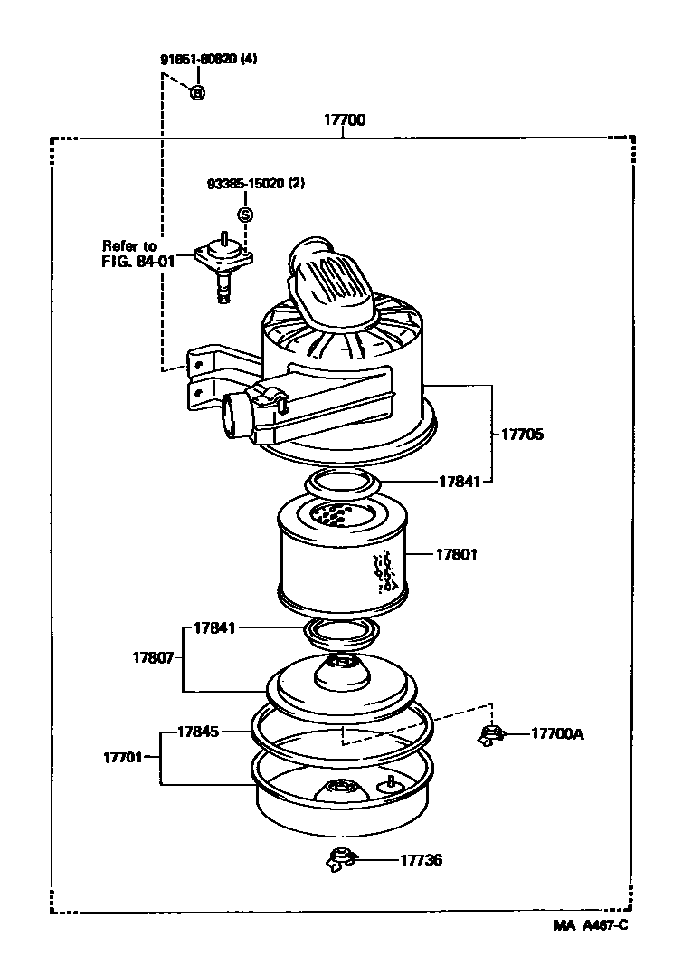
AIR CLEANER

17700CLEANER ASSY, AIR
CYCLONE TYPE
CYCLONE TYPE
CYCLONE TYPE
W(HOT AIR INTAKE)
MALAYSIA SPEC
MALAYSIA SPEC
17700ANUT, WING(FOR AIR CLEANER)
NO.1
NO.2
N0.2
MALAYSIA SPEC,NO.2
17701CASE SUB-ASSY, AIR CLEANER
17705CAP SUB-ASSY, AIR CLEANER
CYCLONE TYPE
CYCLONE TYPE
W(HOT AIR INTAKE)
17736NUT, AIR CLEANER CASE
17801ELEMENT SUB-ASSY, AIR CLEANER FILTER
CYCLONE TYPE
17807PLATE SUB-ASSY, AIR CLEANER FILTER SET
17841GASKET, FILTER ELEMENT
17845GASKET, AIR CLEANER CAP
8401
9165160820
main91651-60820
9338515020
main93385-15020
12 parts on this diagram · 5 diagrams in section