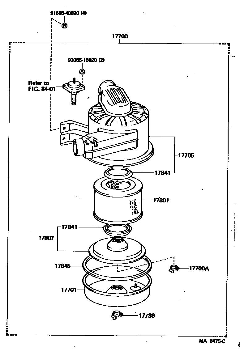
AIR CLEANER

17700CLEANER ASSY, AIR
W/HOT AIR INTAKE
17700ANUT, WING(FOR AIR CLEANER)
17701CASE SUB-ASSY, AIR CLEANER
17705CAP SUB-ASSY, AIR CLEANER
W/OK MONITOR
W/HOT AIR INTAKE
17736NUT, AIR CLEANER CASE
17801ELEMENT SUB-ASSY, AIR CLEANER FILTER
17807PLATE SUB-ASSY, AIR CLEANER FILTER SET
17841GASKET, FILTER ELEMENT
17845GASKET, AIR CLEANER CAP
8401
9165540820
main91655-40820
9338515020
main93385-15020
12 parts on this diagram · 2 diagrams in section