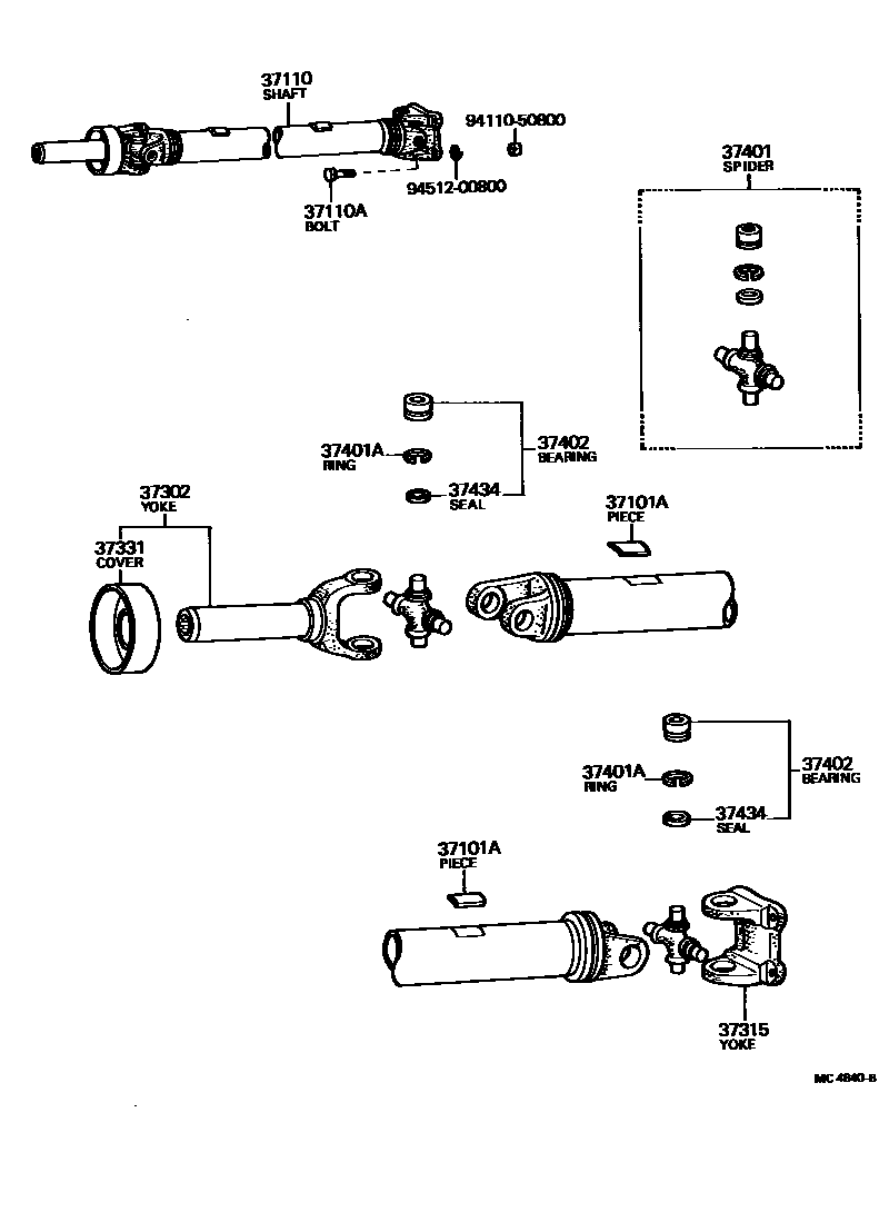
PROPELLER SHAFT & UNIVERSAL JOINT

37101APIECE, BALANCE, NO.1 (FOR PROPELLER SHAFT)
10G,L=20.7,10G
20G,L=41.4,20G
30G,L=62.2,30G
2G,T=2.0,2G
4G,T=2.0,4G
6G,L=12.4,6G
8G,L=16.6,8G
12G,L=24.9,12G
14G,L=29.0,14G
16G,L=33.2,16G
18G,L=37.3,18G
22G,L=45.6,22G
24G,L=49.7,24G
26G,L=53.9,26G
28G,L=58.1,28G
37110SHAFT ASSY, PROPELLER
37110ABOLT (FOR PROPELLER SHAFT)
*8-1.25PX25-12
37302YOKE SUB-ASSY, UNIVERSAL JOINT SLEEVE
37315YOKE, UNIVERSAL JOINT FLANGE
37331COVER, SLIDING SHAFT DUST
37401SPIDER KIT, UNIVERSAL JOINT
37401ARING, HOLE SNAP (FOR SPIDER BEARING)
T=1.175-1.225
T=1.225-1.275
T=1.275-1.325
T=1.325-1.375
T=2.375-2.425,T=2.375-2.425
T=2.425-2.475,T=2.425-2.475
T=2.475-2.525,T=2.475-2.525
37402BEARING SUB-ASSY, UNIVERSAL JOINT SPIDER
OD=25.951-26.049
OD=26.015-.028
OD=26.036-.049
37434SEAL, UNIVERSAL JOINT SPIDER BEARING
9411050800
main94110-50800
9451200800
main94512-00800
12 parts on this diagram · 1 diagram in section