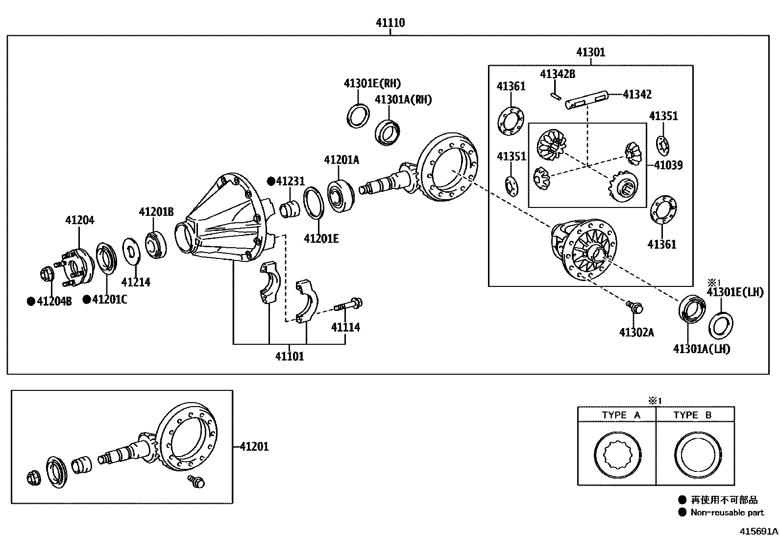
REAR AXLE HOUSING & DIFFERENTIAL

41039GEAR KIT, DIFFERENTIAL, REAR
DIFFERENTIAL LOCK-WITHOUT
41101CARRIER SUB-ASSY, DIFFERENTIAL, REAR
DIFFERENTIAL LOCK-WITHOUT
DIFFERENTIAL LOCK-WITHOUT
DIFFERENTIAL LOCK-WITH
41110CARRIER ASSY, DIFFERENTIAL, REAR
*FGR=41:10=4.100
*FGR=43:12=3.583
*FGR=43:11=3.909
*FGR=41:10=4.100
*FGR=43:12=3.583,DIFFERENTIAL LOCK-WITHOUT
*FGR=43:11=3.909,DIFFERENTIAL LOCK-WITHOUT
sub41110-0K781
*FGR=41:10=4.100,DIFFERENTIAL LOCK-WITHOUT
sub41110-0K791
41114BOLT, REAR DIFFERENTIAL BEARING CAP
TYPE A:REFER ILLUST.
TYPE B:REFER ILLUST.
41201FINAL GEAR KIT, DIFFERENTIAL, REAR
*FGR=43:12=3.583
*FGR=43:11=3.909
*FGR=41:10=4.100
41201ABEARING (FOR REAR DRIVE PINION REAR)
41201BBEARING (FOR REAR DRIVE PINION FRONT)
41201ESHIM (FOR REAR DIFF DRIVE PINION SPACER FRONT ADJUST)
T=1.72
T=1.74
T=1.76
T=1.78
T=1.80
T=1.82
T=1.84
T=1.86
T=1.88
T=1.90
T=1.92
T=1.94
T=1.96
T=1.98
T=2.00
T=2.02
T=2.04
T=2.06
T=2.08
T=2.10
T=2.12
T=2.14
T=2.16
T=2.18
T=1.025
T=1.050
T=1.075
T=1.100
T=1.125
T=1.150
T=1.175
T=1.200
T=1.225
T=1.250
T=1.275
T=1.300
T=1.325
T=1.350
T=1.375
T=1.400
T=1.425
T=1.450
T=1.475
41204FLANGE SUB-ASSY, REAR DRIVE PINION COMPANION, REAR
41204BNUT (FOR REAR DRIVE PINION)
OD=43.5
OD=43
41214SLINGER, REAR DIFFERENTIAL DRIVE PINION OIL
41231SPACER, REAR DIFFERENTIAL DRIVE PINION BEARING
41301CASE SUB-ASSY, REAR DIFFERENTIAL
DIFFERENTIAL LOCK-WITHOUT
DIFFERENTIAL LOCK-WITHOUT
41301ABEARING(FOR REAR DIFFERENTIAL CASE)
LH
RH
LH
RH
41301ESHIM(FOR DIFFERENTIAL CASE)
T=2.58,MARK 01,LH,TYPE A:REF.ILL.
T=2.64,MARK 03,LH,TYPE A:REF.ILL.
T=2.60,MARK 32,LH,TYPE A:REF.ILL.
T=2.62,MARK 33,LH,TYPE A:REF.ILL.
T=2.66,MARK 34,LH,TYPE A:REF.ILL.
T=2.68,MARK 35,LH,TYPE A:REF.ILL.
T=2.42,MARK 62,LH,TYPE A:REF.ILL.
T=2.44,MARK 63,LH,TYPE A:REF.ILL.
T=2.46,MARK 64,LH,TYPE A:REF.ILL.
T=2.48,MARK 65,LH,TYPE A:REF.ILL.
T=2.50,MARK 66,LH,TYPE A:REF.ILL.
T=2.52,MARK 67,LH,TYPE A:REF.ILL.
T=2.54,MARK 68,LH,TYPE A:REF.ILL.
T=2.56,MARK 69,LH,TYPE A:REF.ILL.
T=2.08,MARK 71,LH,TYPE A:REF.ILL.
T=2.10,MARK 72,LH,TYPE A:REF.ILL.
T=2.12,MARK 73,LH,TYPE A:REF.ILL.
T=2.14,MARK 74,LH,TYPE A:REF.ILL.
T=2.16,MARK 75,LH,TYPE A:REF.ILL.
T=2.18,MARK 76,LH,TYPE A:REF.ILL.
T=2.20,MARK 77,LH,TYPE A:REF.ILL.
T=2.22,MARK 78,LH,TYPE A:REF.ILL.
T=2.24,MARK 79,LH,TYPE A:REF.ILL.
T=2.26,MARK 80,LH,TYPE A:REF.ILL.
T=2.28,MARK 81,LH,TYPE A:REF.ILL.
T=2.30,MARK 82,LH,TYPE A:REF.ILL.
T=2.32,MARK 83,LH,TYPE A:REF.ILL.
T=2.34,MARK 84,LH,TYPE A:REF.ILL.
T=2.36,MARK 85,LH,TYPE A:REF.ILL.
T=2.38,MARK 86,LH,TYPE A:REF.ILL.
T=2.40,MARK 87,LH,TYPE A:REF.ILL.
T=2.08,LH,TYPE B:REF.ILL.
T=2.10,LH,TYPE B:REF.ILL.
T=2.12,LH,TYPE B:REF.ILL.
T=2.14,LH,TYPE B:REF.ILL.
T=2.16,LH,TYPE B:REF.ILL.
T=2.18,LH,TYPE B:REF.ILL.
T=2.20,LH,TYPE B:REF.ILL.
T=2.22,LH,TYPE B:REF.ILL.
T=2.24,LH,TYPE B:REF.ILL.
T=2.26,LH,TYPE B:REF.ILL.
T=2.28,LH,TYPE B:REF.ILL.
T=2.30,LH,TYPE B:REF.ILL.
T=2.32,LH,TYPE B:REF.ILL.
T=2.34,LH,TYPE B:REF.ILL.
T=2.36,LH,TYPE B:REF.ILL.
T=2.38,LH,TYPE B:REF.ILL.
T=2.40,LH,TYPE B:REF.ILL.
T=2.42,LH,TYPE B:REF.ILL.
T=2.44,LH,TYPE B:REF.ILL.
T=2.46,LH,TYPE B:REF.ILL.
T=2.48,LH,TYPE B:REF.ILL.
T=2.50,LH,TYPE B:REF.ILL.
T=2.52,LH,TYPE B:REF.ILL.
T=2.54,LH,TYPE B:REF.ILL.
T=2.56,LH,TYPE B:REF.ILL.
T=2.58,LH,TYPE B:REF.ILL.
T=2.60,LH,TYPE B:REF.ILL.
T=2.62,LH,TYPE B:REF.ILL.
T=2.64,LH,TYPE B:REF.ILL.
T=2.66,LH,TYPE B:REF.ILL.
T=2.68,LH,TYPE B:REF.ILL.
T=2.06,RH
T=2.08,RH
T=2.10,RH
T=2.12,RH
T=2.14,RH
T=2.16,RH
T=2.18,RH
T=2.20,RH
T=2.22,RH
T=2.24,RH
T=2.26,RH
T=2.28,RH
T=2.30,RH
T=2.32,RH
T=2.34,RH
T=2.36,RH
T=2.38,RH
T=2.40,RH
T=2.42,RH
T=2.44,RH
T=2.46,RH
T=2.48,RH
T=2.50,RH
T=2.52,RH
T=2.54,RH
T=2.56,RH
T=2.58,RH
T=2.60,RH
T=2.62,RH
T=2.64,RH
T=2.66,RH
T=2.68,RH
T=2.832,LH
T=2.804,LH
T=2.777,LH
T=2.749,LH
T=2.721,LH
T=2.693,LH
T=2.665,LH
T=2.637,LH
T=2.609,LH
T=2.581,LH
T=2.553,LH
T=2.525,LH
T=2.497,LH
T=2.469,LH
T=2.441,LH
T=2.413,LH
T=2.385,LH
T=2.357,LH
T=2.329,LH
T=2.302,LH
T=2.274,LH
T=2.246,LH
T=2.218,LH
T=2.190,LH
T=2.162,LH
T=2.134,LH
T=2.860,LH
T=2.888,LH
T=2.916,LH
T=2.944,LH
T=0.76,RH
T=0.79,RH
T=0.81,RH
T=0.84,RH
T=0.86,RH
T=0.89,RH
T=0.91,RH
T=0.94,RH
T=0.97,RH
T=0.99,RH
T=1.02,RH
T=1.04,RH
T=1.07,RH
T=1.09,RH
T=1.12,RH
T=1.14,RH
T=1.17,RH
T=1.19,RH
T=1.22,RH
T=1.24,RH
T=1.27,RH
T=1.30,RH
T=1.32,RH
T=1.35,RH
T=1.37,RH
T=1.40,RH
T=1.42,RH
T=1.45,RH
T=1.47,RH
T=1.50,RH
T=1.52,RH
T=1.55,RH
T=1.57,RH
T=1.60,RH
T=1.63,RH
T=1.65,RH
T=1.68,RH
T=1.70,RH
T=1.73,RH
T=1.75,RH
T=1.78,RH
T=1.80,RH
T=1.83,RH
T=1.85,RH
T=1.88,RH
T=1.91,RH
T=1.93,RH
T=1.96,RH
T=1.98,RH
T=2.01,RH
T=2.03,RH
T=2.06,RH
T=2.08,RH
T=2.11,RH
T=2.13,RH
T=2.16,RH
T=2.18,RH
T=2.21,RH
T=2.24,RH
T=2.26,RH
T=2.29,RH
T=2.31,RH
T=2.34,RH
T=2.36,RH
T=2.39,RH
T=2.41,RH
T=2.44,RH
T=2.46,RH
T=2.49,RH
T=2.51,RH
T=2.54,RH
41302CASE SUB-ASSY, REAR DIFFERENTIAL
DIFFERENTIAL LOCK-WITH
41302ABOLT(FOR REAR DIFFERENTIAL CASE)
41342SHAFT, REAR DIFFERENTIAL PINION
DIFFERENTIAL LOCK-WITHOUT
41342BPIN, STRAIGHT (FOR REAR DIFFERENTIAL PINION SHAFT)
DIFFERENTIAL LOCK-WITHOUT
41351WASHER, REAR DIFFERENTIAL PINION THRUST
DIFFERENTIAL LOCK-WITHOUT
DIFFERENTIAL LOCK-WITH
41361WASHER, REAR DIFFERENTIAL SIDE GEAR THRUST, NO.1
T=1.45
T=1.50,DIFFERENTIAL LOCK-WITHOUT
T=1.55,DIFFERENTIAL LOCK-WITHOUT
T=1.60
T=1.65
T=1.70
T=1.75
T=1.80
T=1.85
T=1.1
T=1.2
T=1.3
T=1.4
T=1.1
T=1.2,DIFFERENTIAL LOCK-WITH
T=1.3,DIFFERENTIAL LOCK-WITH
T=1.4,DIFFERENTIAL LOCK-WITH
22 parts on this diagram · 6 diagrams in section