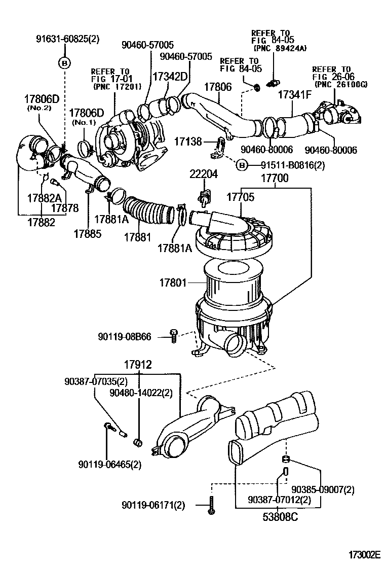
AIR CLEANER

1701
17341FHOSE, AIR, NO.1
17801ELEMENT SUB-ASSY, AIR CLEANER FILTER
TURKEY SPEC
17806DCLAMP(FOR AIR CLEANER PIPE)
NO.1
NO.2
17878PIPE, INTAKE AIR CONNECTOR, NO.3
17881ACLAMP(FOR AIR CLEANER HOSE, NO.1)
NO.1
NO.2
NO.1
NO.2
NO.1
NO.2
NO.1
NO.2
17882HOSE, AIR CLEANER, NO.2
(L)
(J)
17882ACLAMP(FOR AIR CLEANER HOSE, NO.2)
NO.1
NO.2
17885PIPE, AIR CLEANER
22204METER SUB-ASSY, INTAKE AIR FLOW
2606
53808CDUCT SUB-ASSY, FRONT FENDER AIR, LH
8405
9011906171
main90119-06171
9011906465
main90119-06465
9011908B66
main90119-08B66
9038509007
main90385-09007
9038707012
main90387-07012
9038707035
main90387-07035
9046057005
main90460-57005
9046080006
main90460-80006
9048014022
main90480-14022
91511B0816
main91511-B0816
9163160825
main91631-60825
31 parts on this diagram · 9 diagrams in section