E
EPC Data

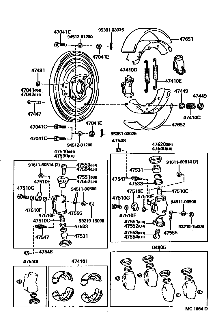
FRONT DRUM BRAKE WHEEL CYLINDER & BACKING PLATE

Parts diagram
04905CUP KIT, FRONT WHEEL CYLINDER
main04905-30012i197205-197507
main04905-35050i197507-197807
47041PLATE SUB-ASSY, BRAKE BACKING, FRONT RH
main47041-35030i197205-197511
main47041-35031i197511-197807
47041CBOLT(FOR BACKING PLATE TO STEERING KNUCKLE ARM SETTING)
main90102-12051i197205-197408
12-1.25PX60-20
main90102-12058i197205-197807
12-1.25PX36.3-20
main90102-12065i197408-197807
12-1.25PX58.5-20
main90114-12092i197205-197408
12-1.25PX61-20,W/SERRATION
main90114-12138i197408-197807
12-1.25PX60-20,W/SERRATION
47041ENUT(FOR BACKING PLATE TO STEERING KNUCKLE ARM SETTING)
main94145-71200i197205-197807
47042PLATE SUB-ASSY, BRAKE BACKING, FRONT LH
main47042-35010i197205-197511
main47042-35011i197511-197807
47410CSPRING(FOR FRONT BRAKE SHOE HOLD DOWN)
main90501-20225i197205-197807
47410DSPRING, TENSION(FOR FRONT BRAKE SHOE RETURN)
main90506-23301i197205-197807
47410ESPRING, TENSION(FOR FRONT BRAKE SHOE RETURN)
main90506-23301i197205-197807
47410LSHOE KIT, FRONT BRAKE
main04494-30011i197205-197807
47447PIN, SHOE HOLD DOWN SPRING(FOR FRONT BRAKE)
main47447-35030i197205-197807
47449CUP, SHOE HOLD DOWN SPRING(FOR FRONT BRAKE)
main47449-20011i197205-197807
47491PLUG, HOLE(FOR FRONT BRAKE)
main47491-35030i197205-197807
47510CYLINDER ASSY, FRONT WHEEL BRAKE, RH(FOR FRONT OR UPPER)
main47510-39095i197205-197511
ID=28.57
main47510-39096i197511-197807
ID=28.57
47510CSPRING, COMPRESSION(FOR FRONT WHEEL BRAKE CYLINDER)
main90501-09144i197205-197507
47510EUNION(FOR FRONT WHEEL BRAKE CYLINDER)
main90405-10073i197205-197408
FR
main90405-10135i197205-197511
RR
main90405-10171i197408-197511
FR
47510FGASKET(FOR FRONT WHEEL BRAKE CYLINDER)
main90430-10074i197205-197511
47510GBOLT, UNION(FOR FRONT WHEEL BRAKE CYLINDER)
main90401-10047i197205-197511
47510LCUP KIT, FRONT WHEEL CYLINDER
47520CYLINDER ASSY, FRONT WHEEL BRAKE, RH(FOR REAR OR LOWER)
main47520-39065i197205-197511
ID=28.57
main47520-39066i197511-197807
ID=28.57
47530CYLINDER ASSY, FRONT WHEEL BRAKE, LH(FOR FRONT OR UPPER)
main47530-39095i197205-197511
ID=28.57
main47530-39096i197511-197807
ID=28.57
47531PISTON, WHEEL BRAKE CYLINDER(FOR FRONT BRAKE)
main47531-35110i197205-197507
47533SEAT, WHEEL CYLINDER PISTON SPRING(FOR FRONT BRAKE)
main47533-30010i197205-197306
main47533-30011i197306-197507
47540CYLINDER ASSY, FRONT WHEEL BRAKE, LH(FOR REAR OR LOWER)
main47540-39065i197205-197511
ID=28.57
main47540-39066i197511-197807
ID=28.57
47547PLUG, BLEEDER(FOR FRONT DRUM BRAKE)
main47547-12010i197205-197807
47548CAP, BLEEDER PLUG(FOR DRUM BRAKE, FRONT)
main31478-30010i197205-197807
47551NUT, FRONT WHEEL CYLINDER ADJUSTING, RH(FOR FRONT BRAKE)
main47551-40010i197205-197807
47552NUT, FRONT WHEEL CYLINDER ADJUSTING, LH(FOR FRONT BRAKE)
main47552-40010i197205-197807
47553BOLT, FRONT WHEEL CYLINDER ADJUSTING, RH(FOR FRONT BRAKE)
main47553-30051i197205-197807
47554BOLT, FRONT WHEEL CYLINDER ADJUSTING, LH(FOR FRONT BRAKE)
main47554-30051i197205-197807
47555SPRING, ADJUSTER LOCK(FOR FRONT BRAKE)
main47555-30020i197205-197807
47651LINING, FRONT BRAKE SHOE(FOR FRONT OR UPPER)
main47651-30070i197205-197807
47652LINING, FRONT BRAKE SHOE(FOR REAR OR LOWER)
main47651-30070i197205-197807
9161160814
9321915008
9451100500
9451201200
9538103025

37 parts on this diagram · 3 diagrams in section

FRONT DRUM BRAKE WHEEL CYLINDER & BACKING PLATE — Toyota Parts Diagram with OEM Numbers & Prices | EPC Data