E
EPC Data

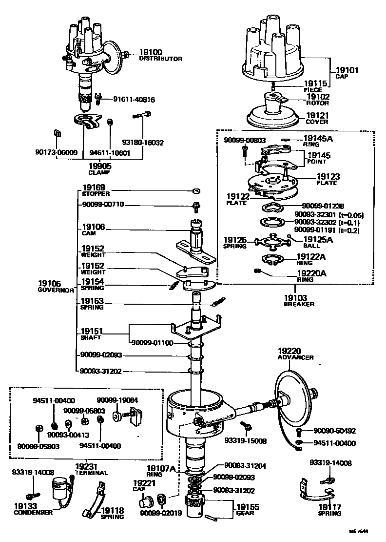
DISTRIBUTOR

Parts diagram
19100DISTRIBUTOR ASSY
main19100-31020i197205-197511
main19100-31021i197511-197807
main19100-31040i197702-197807
AUSTRALIA N.S.W. SPEC.
main19100-31050i197603-197807
E.C.E. NO.10
main19100-31060i197704-197807
SOUTH AFRICA W/GOVERNOR ROTOR
main19100-33013i197404-197509
main19100-33014i197706-197807
main19100-34200i197509-197701
main19100-34201i197711-197807
18RC
19101CAP SUB-ASSY, DISTRIBUTOR
main19101-21011i197205-197511
main19101-31013i197511-197807
main19101-33012i197509-197807
main19101-33013i197710-197807
18RC
19102ROTOR SUB-ASSY, DISTRIBUTOR
main19102-22010i197205-197807
main19102-24120i197603-197807
E.C.E. NO.10
main19102-31060i197704-197807
SOUTH AFRICA W/GOVERNOR ROTOR
main19102-33012i197404-197807
19103BREAKER SUB-ASSY, DISTRIBUTOR
main19103-21013i197205-197501
main19103-22011i197501-197807
main19103-33013i197404-197807
19105GOVERNOR SUB-ASSY
main19105-31014i197205-197511
main19105-31021i197511-197807
main19105-33013i197701-197807
main19105-34043i197710-197807
18RC
19106CAM SUB-ASSY, DISTRIBUTOR
main19106-25010i197710-197807
18RC
main19106-31010i197205-197807
main19106-33011i197404-197509
19107ARING, O, DISTRIBUTOR HOUSING
main90099-14020i197205-197807
19115PIECE, DISTRIBUTOR CAP, CENTER
main19115-50010i197205-197807
19117SPRING, DISTRIBUTOR CAP, A
main19117-30030i197205-197807
main19117-33011i197404-197807
19118SPRING, DISTRIBUTOR CAP, B
main19118-30030i197205-197807
main19118-33011i197404-197807
19121COVER, DUST PROOF
main19121-10010i197205-197807
main19121-33011i197404-197807
19122PLATE, STATIONARY, DISTRIBUTOR
main19122-29021i197205-197807
main19122-33013i197404-197807
19122ARING, SNAP(FOR DISTRIBUTOR STATIONARY PLATE)
main90099-07081i197205-197807
19123PLATE, DISTRIBUTOR BREAKER
main19123-29023i197205-197501
main19123-41011i197501-197807
19125SPRING(FOR DISTRIBUTOR STATIONARY PLATE)
main19125-30010i197205-197807
19125ABALL, DISTRIBUTOR STATIONARY PLATE
main90099-12003×4i197205-197807
19133CONDENSER, DISTRIBUTOR
main19133-10010i197205-197301
main90099-52002i197301-197511
main90099-52050i197404-197511
main90099-52059i197511-197807
main90099-52060i197511-197807
19145POINT, DISTRIBUTOR
main04191-40010i197205-197501
main19145-26060i197404-197501
19145ARING, SNAP(FOR DISTRIBUTOR KIT)
main90099-07042i197205-197502
19151SHAFT, GOVERNOR
main19151-22031i197205-197807
main19151-33011i197404-197807
19152WEIGHT, GOVERNOR
main19152-32010×2i197205-197701
main19152-45060×2i197404-197807
main19152-87104×2i197701-197807
19153SPRING, GOVERNOR, A
main19153-31013i197205-197511
main19153-31021i197511-197807
main19153-33013i197404-197509
main19153-34043i197710-197807
18RC
19154SPRING, GOVERNOR, B
main19154-31013i197205-197511
main19154-31021i197511-197807
main19154-33013i197404-197509
main19154-34043i197509-197701
19155GEAR, SPIRAL, DISTRIBUTOR
main19195-31020i197205-197807
main19195-33011i197404-197807
19169STOPPER, CAM GREASE
main19169-32010i197801-197807
EUROPE SPEC.
19220ADVANCER ASSY, VACUUM, DISTRIBUTOR
main19220-31014i197205-197511
main19220-31020i197511-197807
main19220-31040i197702-197807
AUSTRALIA N.S.W. SPEC.
main19220-31050i197801-197807
EUROPE SPEC.
main19220-33013i197404-197509
main19220-34044i197711-197712
18RC
main19220-34200i197712-197807
18RC
main19220-34210i197701-197807
19220ARING, SNAP(FOR DISTRIBUTOR VACUUM ADVANCER)
main90099-07011i197205-197301
main90099-07104i197301-197807
19221CAP, ADJUSTER, DISTRIBUTOR
main19221-30030i197205-197712
19231TERMINAL, DISTRIBUTOR
main19132-36020i197706-197807
main19231-22010i197205-197807
main19231-33011i197404-197706
19905CLAMP SUB-ASSY, DISTRIBUTOR
main19905-40010i197205-197807
main19955-33010i197404-197807
9009050492
9009300413
9009331202
9009331204
9009332301
9009332302
9009900710
9009900803
9009901100
9009901191
9009901238
9009902019
9009902093
9009905803
9009919084
9017306009
9161140816
9318016032
9331914008
9331915008
9451100400
9461110601

52 parts on this diagram · 2 diagrams in section

DISTRIBUTOR — Toyota Parts Diagram with OEM Numbers & Prices | EPC Data