E
EPC Data

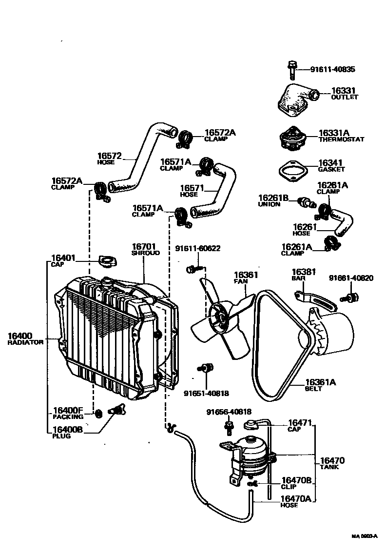
RADIATOR & WATER OUTLET

Parts diagram
16261HOSE, WATER BY-PASS
main16261-31010i197205-197511
main90910-05081i197408-197509
main90910-05106i197509-197807
16261ACLAMP OR CLIP, HOSE(FOR WATER BY-PASS HOSE)
main90460-23022×2i197205-197411
main96112-10160×2i197404-197807
main96112-10240×2i197411-197511
16261BUNION(FOR WATER BY-PASS HOSE)
main90404-17005i197708-197807
main90404-52072i197205-197511
16331OUTLET, WATER
main16331-31010i197205-197511
main16331-31020i197205-197309
CAST IRON BODY
main16331-31031i197511-197807
main16331-31051i197702-197807
AUSTRALIA N.S.W. SPEC.
main16331-36011i197404-197610
main16331-36012i197610-197807
16331ATHERMOSTAT
main90916-03020i197702-197807
WAX 82-95 (F) AUSTRALIA N.S.W.
main90916-03021i197205-197309
WAX 82-95 KUZEH
main90916-03024i197205-197309
WAX 75-85 KUZEH
main90916-03033i197404-197709
WAX 82-95 FUJI-THOMSON
main90916-03034i197309-197807
WAX 82-95 FUJI-THOMSON
main90916-03036i197709-197807
WAX 88-100 FUJI-THOMSON
main90916-03037i197709-197807
WAX 82-95 KUZEH
main90916-03038i197702-197807
WAX 82-95 (K) AUSTRALIA N.S.W.
main90916-03040i197709-197807
WAX 88-100 KUZEH
16341GASKET, WATER OUTLET
main16341-49010i197205-197807
16361FAN
main16361-31020i197205-197206
4 BLADES
main16361-31021i197206-197807
4 BLADES
main16361-31050i197511-197807
5 BLADES,W/COOLER
main16361-33020i197404-197509
6 BLADES
main16361-34030i197509-197702
7 BLADES
main16361-38010i197709-197807
7 BLADES
main16361-41022i197404-197509
6 BLADES
16361ABELT, V(FOR FAN & ALTERNATOR)
main90916-02048i197711-197807
L=840,18RC
main90916-02052i197511-197612
L=890
main90916-02060i197612-197804
L=890
main99332-00890i197804-197807
L=890
main99521-10839i197607-197807
L=839
main99521-10843i197404-197607
L=843
main99521-10873i197205-197206
L=873
main99521-10887i197312-197511
L=887
main99521-10897i197206-197312
L=897
16381BAR, FAN BELT ADJUSTING
main16381-30020i197205-197511
12V 480W ALTERNATOR
main16381-31011i197205-197511
main16381-31012i197511-197807
main16381-33010i197404-197509
main16381-34030i197509-197807
16400RADIATOR ASSY
main16400-31110i197205-197408
main16400-31111i197408-197511
main16400-31112i197511-197807
main16400-34080i197404-197408
main16400-34081i197408-197709
main16400-34082i197709-197807
main16400-34090i197404-197408
main16400-34091i197408-197709
main16400-34092i197709-197807
16400BPLUG, RADIATOR DRAIN COCK
main90910-09052i197205-197408
main90910-09054i197408-197807
16400FPACKING(FOR RADIATOR DRAIN COCK)
main90099-06030i197205-197408
main96710-01007i197408-197807
16401CAP SUB-ASSY, RADIATOR
main16401-36010i197205-197807
16470TANK ASSY, RADIATOR RESERVE
main16470-31010i197205-197704
main16470-34110i197704-197805
main16470-34120i197805-197807
16470AHOSE OR PIPE(FOR RADIATOR RESERVE TANK)
main90445-12013i197408-197704
L=1000(*H,L=700)
main90445-12781i197205-197408
L=1000(*H,L=750)
16470BCLAMP OR CLIP(FOR RADIATOR RESERVE TANK HOSE)
main90467-11085×2i197205-197704
16471CAP SUB-ASSY, RESERVE TANK
main16471-34110i197805-197807
main16471-34120i197805-197807
main16471-41060i197205-197704
16571HOSE, RADIATOR, INLET
main16571-33011i197404-197408
main16571-33012i197408-197504
main16571-34050i197504-197807
main16572-31020i197205-197408
main16572-31021i197408-197511
main16572-31060i197511-197807
16571ACLAMP OR CLIP, HOSE(FOR RADIATOR INLET)
main90460-43005×2i197205-197411
main90460-47036×2i197404-197406
main90467-37001i197702-197807
WATER OUTLET SIDE
main96111-10430×2i197411-197807
main96111-10450×2i197406-197702
16572HOSE, RADIATOR, OUTLET
main16571-31021i197205-197408
main16571-31022i197408-197511
main16571-31023i197511-197807
main16572-33011i197404-197408
main16572-33012i197408-197807
16572ACLAMP OR CLIP, HOSE(FOR RADIATOR OUTLET NO.1)
main90460-47036i197404-197406
ID=47
main90460-49062i197404-197406
ID=49
main96111-10450i197406-197807
ID=45
main96111-10460×2i197411-197807
main96111-10480i197406-197807
ID=48
16701SHROUD SUB-ASSY, FAN
main16711-31050i197205-197408
main16711-31051i197408-197807
main16711-31100i197511-197807
W/COOLER,UPPER
main16711-34050i197404-197408
main16711-34051i197408-197709
main16711-34052i197709-197807
main16712-31020i197511-197807
W/COOLER,LOWER
9161140835
9161160622
9165140818
9165640818
9166140820

27 parts on this diagram · 3 diagrams in section

RADIATOR & WATER OUTLET — Toyota Parts Diagram with OEM Numbers & Prices | EPC Data