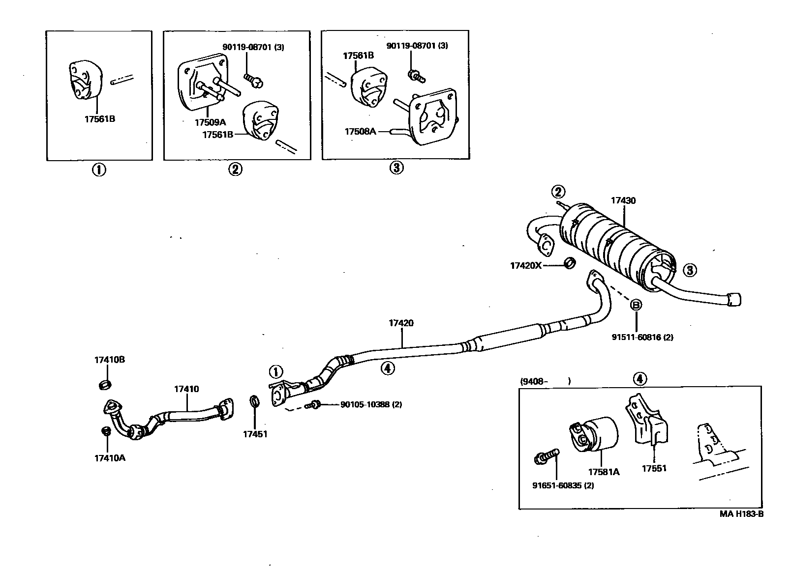
EXHAUST PIPE

17410PIPE ASSY, EXHAUST, FRONT
17410ANUT, EXHAUST PIPE SET STUD BOLT
17410BGASKET, EXHAUST PIPE
17420PIPE ASSY, EXHAUST, CENTER
17420XGASKET, EXHAUST PIPE, CENTER
17430PIPE ASSY, EXHAUST, TAIL
17451GASKET, EXHAUST PIPE
17508ABRACKET SUB-ASSY, EXHAUST PIPE NO.3 SUPPORT
17509ABRACKET SUB-ASSY, EXHAUST PIPE NO.4 SUPPORT
17551INSULATOR, EXHAUST PIPE HEAT, NO.1
17561BSUPPORT, EXHAUST PIPE, NO.1
REAR
REAR
17581ADAMPER, EXHAUST PIPE
9010510388
main90105-10388
9011908701
main90119-08701
9151160816
main91511-60816
9165160835
main91651-60835
16 parts on this diagram · 4 diagrams in section