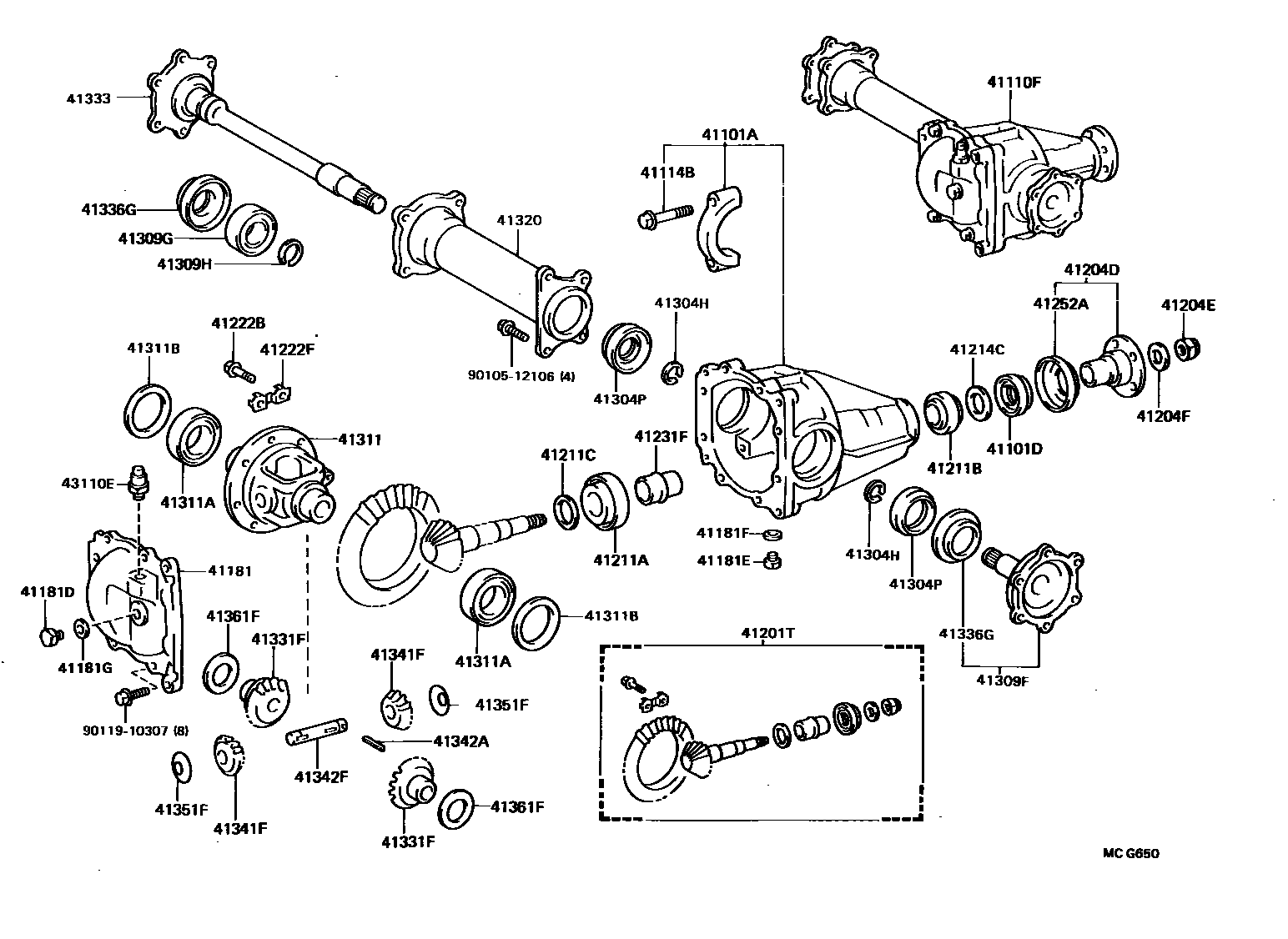
FRONT AXLE HOUSING & DIFFERENTIAL

41101ACARRIER SUB-ASSY, DIFFERENTIAL, FRONT
41101DSEAL, OIL (FOR FRONT DIFFERENTIAL CARRIER)
41110FCARRIER ASSY, DIFFERENTIAL, FRONT
*FGR=43:10=4.300
*FGR=43:9=4.778
41114BBOLT, FRONT DIFFERENTIAL BEARING CAP
41181COVER, FRONT DIFFERENTIAL CARRIER
41181DPLUG (FOR FRONT DIFFERENTIAL FILLER)
41181EPLUG (FOR FRONT DIFFERENTIAL DRAIN)
41181FGASKET (FOR FRONT DIFFERENTIAL FILLER PLUG)
41181GGASKET (FOR FRONT DIFFERENTIAL DRAIN PLUG)
41201TFINAL GEAR KIT, DIFFERENTIAL, FRONT
*FGR=43:10=4.300
41204DFLANGE SUB-ASSY, FRONT DRIVE PINION COMPANION, FRONT
41204ENUT (FOR FRONT DRIVE PINION COMPANION FLANGE FRONT)
41204FWASHER, PLATE (FOR DRIVE PINION COMPANION FLANGE FRONT)
41211ABEARING, TAPERED ROLLER (FOR FRONT DRIVE PINION FRONT)
sub90366-34019
41211BBEARING, TAPERED ROLLER (FOR FRONT DRIVE PINION REAR)
41211CGEAR, DIFFERENTIAL RING
T=2.36,MARK 05
T=2.39,MARK 06
T=2.42,MARK 07
T=2.43,MARK 08
T=2.48,MARK 09
T=2.51,MARK 10
T=2.54,MARK 11
T=2.57,MARK 12
T=2.60,MARK 13
T=2.63,MARK 14
T=2.66,MARK 15
T=2.69,MARK 16
41214CSLINGER, FRONT DIFFERENTIAL DRIVE PINION OIL
41222BBOLT (FOR FRONT DIFFERENTIAL RING GEAR SET)
41222FPLATE, FORNT DIFFERENTIAL RING GEAR SET BOLT LOCK
41231FSPACER, FRONT DIFFERENTIAL DRIVE PINION BEARING
41252ADEFLECTOR, DUST (FOR FRONT DIFFERENTIAL)
41304HRING, HOLE SNAP (FOR DIFFERENTIAL SIDE GEAR SHAFT)
41304PSEAL, OIL (FOR DIFFERENTIAL SIDE GEAR SHAFT)
sub90311-35032
41309FSHAFT SUB-ASSY, DIFFERENTIAL SIDE GEAR, LH
41309GBEARING (FOR DIFFERENTIAL SIDE GEAR SHAFT)
41309HRING, SHAFT SNAP (FOR DIFFERENTIAL SIDE GEAR SHAFT)
41311CASE, FRONT DIFFERENTIAL
41311ABEARING (FOR FRONT DIFFERENTIAL CASE)
41311BWASHER, PLATE (FOR FRONT DIFFERENTIAL CASE)
T=2.22
T=2.25
T=2.28
T=2.31
T=2.34
T=2.37
T=2.40
T=2.43
T=2.46
T=2.49
T=2.52
T=2.55
T=2.58
T=2.61
T=2.64
T=2.67
T=2.70
T=2.73
T=2.76
T=2.79
T=2.82
T=2.85
T=2.88
T=2.91
T=2.94
T=2.97
T=3.00
T=3.03
T=3.06
T=3.09
T=3.12
T=3.15
T=3.18
T=3.21
41320TUBE ASSY, FRONT DIFFERENTIAL
41331FGEAR, FRONT DIFFERENTIAL SIDE
41333SHAFT, DIFFERENTIAL SIDE GEAR, RH
41336GCOVER, DUST(FOR FRONT DIFFERENTIAL SIDE GEAR SHAFT)
LH
RH
41341FPINION, FRONT DIFFERENTIAL
41342APIN, STRAIGHT (FOR FRONT DIFFERENTIAL PINION SHAFT)
41342FSHAFT, FRONT DIFFERENTIAL PINION, NO.1
41351FWASHER, FRONT DIFFERENTIAL PINION THRUST
41361FWASHER, FRONT DIFFERENTIAL SIDE GEAR THRUST, NO.1
T=1.00,MARK 02
T=1.10,MARK 03
T=1.20,MARK 04
T=0.95,MARK 14
T=1.05,MARK 15
T=1.15,MARK 16
43110EPLUG, BREATHER (FOR FRONT AXLE HOUSING)
9010512106
main90105-12106
9011910307
main90119-10307
41 parts on this diagram · 1 diagram in section