E
EPC Data

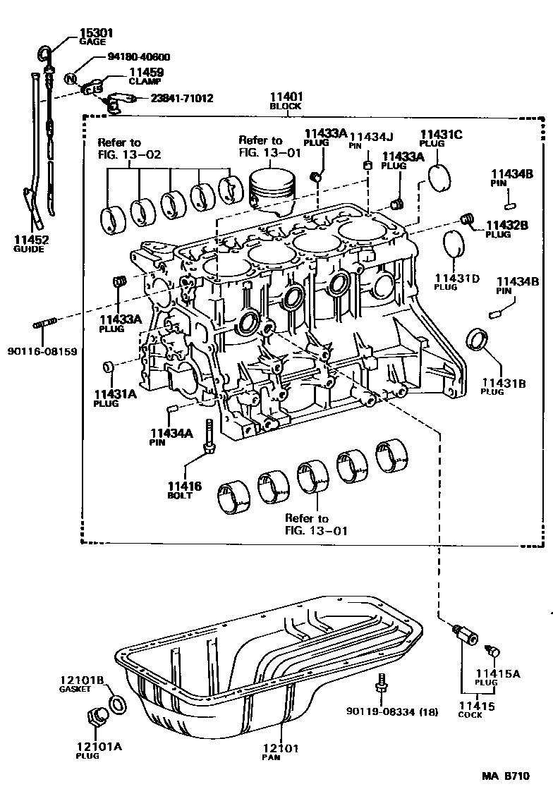
CYLINDER BLOCK

Parts diagram
11401BLOCK SUB-ASSY, CYLINDER
main11401-79206i198808-199001
11415COCK SUB-ASSY, WATER DRAIN(FOR CYLINDER BLOCK)
main96431-53828i198808-199001
11415APLUG, WATER DRAIN COCK(FOR CYLINDER BLOCK)
main96432-23814i198808-199001
11416BOLT(FOR CRANKSHAFT BEARING CAP SET)
main90910-02032i198808-199001
11431APLUG, TIGHT, NO.1(FOR CYLINDER BLOCK)
main96411-01800i198808-199001
11431BPLUG, TIGHT, NO.2(FOR CYLINDER BLOCK)
main96411-43500i198808-199001
11431CPLUG, TIGHT, NO.3(FOR CYLINDER BLOCK)
main96411-45000i198808-199001
11431DPLUG, TIGHT, NO.4(FOR CYLINDER BLOCK)
main96411-45000i198808-199001
11432BPLUG, W/HEAD TAPER SCREW, NO.2
main90344-53011i198808-199001
11433APLUG, STRAIGHT, NO.1
main90072-34402i198808-199001
11434APIN, STRAIGHT(FOR TIMING GEAR COVER SET)
main90250-08120i198808-199001
L=18,OD=8
11434BPIN, STRAIGHT(FOR CLUTCH HOUSING SET)
main90250-08120i198808-199001
L=18,OD=8
main90250-10113i198808-199001
L=22,OD=10
11434JPIN, RING (FOR CYLINDER HEAD SET)
main90253-15016i198808-199001
11452GUIDE, OIL LEVEL GAGE
main11452-71020i198808-199001
11459SUPPORT, OIL LEVEL GAGE GUIDE
main11459-71011i198808-199001
12101PAN SUB-ASSY, OIL
main12101-71031i198808-199001
12101APLUG(FOR OIL PAN DRAIN)
main90341-12012i198808-199001
12101BGASKET(FOR OIL PAN DRAIN PLUG)
main90430-12019i198808-199001
1301
1302
15301GAGE SUB-ASSY, OIL LEVEL
main15301-71020i198808-199001
2384171012CLAMP, FUEL PIPE(HOSE), NO.1
9011608159
9011908334
9418040600

25 parts on this diagram · 1 diagram in section

CYLINDER BLOCK — Toyota Parts Diagram with OEM Numbers & Prices | EPC Data