E
EPC Data

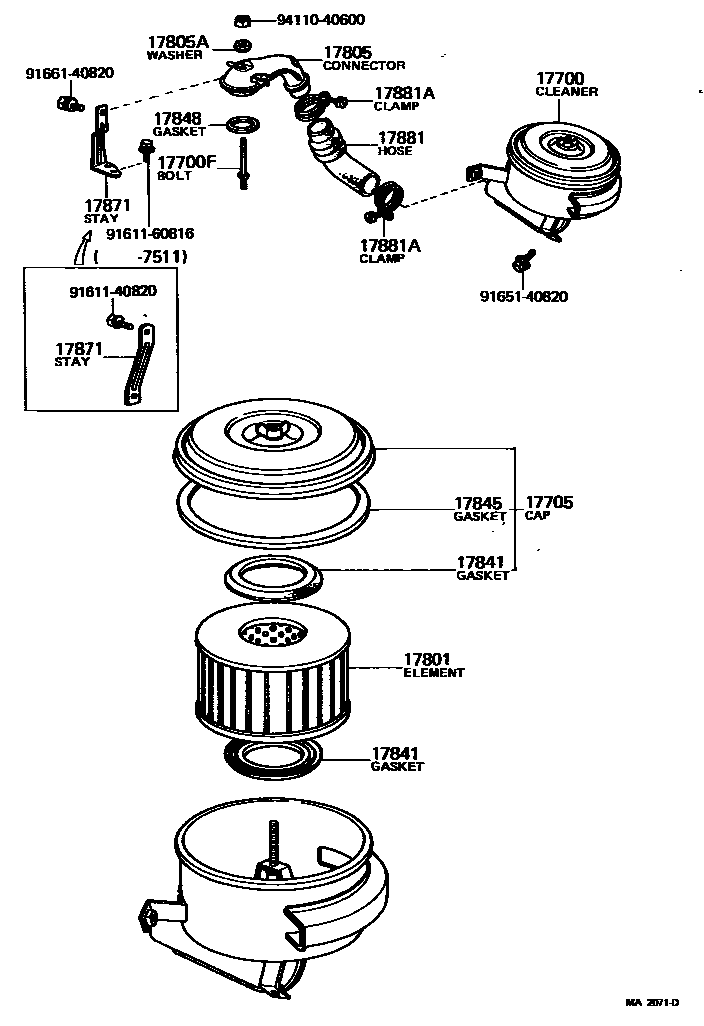
AIR CLEANER

Parts diagram
17700CLEANER ASSY, AIR
main17700-13030i197802-197909
main17700-24110i197105-197511
main17700-24111i197607-197802
main17700-24440i197511-197802
17700FBOLT, STUD(FOR AIR CLEANER SETTING)
main90116-06090i197105-197304
main90116-06222i197511-197909
L=80,S=12&28
main90116-06230i197304-197511
L=74,S=12&25
17705CAP SUB-ASSY, AIR CLEANER
main17705-24060i197105-197511
main17705-24061i197511-197802
main17705-24250i197802-197909
17801ELEMENT SUB-ASSY, AIR CLEANER FILTER
main17801-23020i197105-197909
17805CONNECTOR SUB-ASSY, INTAKE AIR
main17861-13010i197802-197909
main17861-24010i197105-197304
main17861-24011i197304-197511
main17861-24021i197511-197802
17805AGASKET & WASHER, SEAL
main90210-06001i197105-197404
main90210-06023i197404-197909
17841GASKET, FILTER ELEMENT
main17841-24030×2i197105-197909
17845GASKET, AIR CLEANER CAP
main17845-24030i197105-197909
17848GASKET, AIR CLEANER TO CARBURETOR
main90430-63187i197105-197909
17871STAY, AIR CONNECTOR
main17871-13010i197802-197909
main17871-24010i197105-197511
main17871-24011i197511-197802
17881HOSE, AIR CLEANER, NO.1
main17881-13020i197802-197909
main17881-24010i197105-197802
17881ACLAMP(FOR AIR CLEANER HOSE, NO.1)
main90460-78001×2i197802-197909
main96111-10560×2i197105-197802
9161140820
9161160816
9165140820
9166140820
9411040600

17 parts on this diagram · 2 diagrams in section

AIR CLEANER — Toyota Parts Diagram with OEM Numbers & Prices | EPC Data