SEAT BELT & CHILD RESTRAINT SEAT

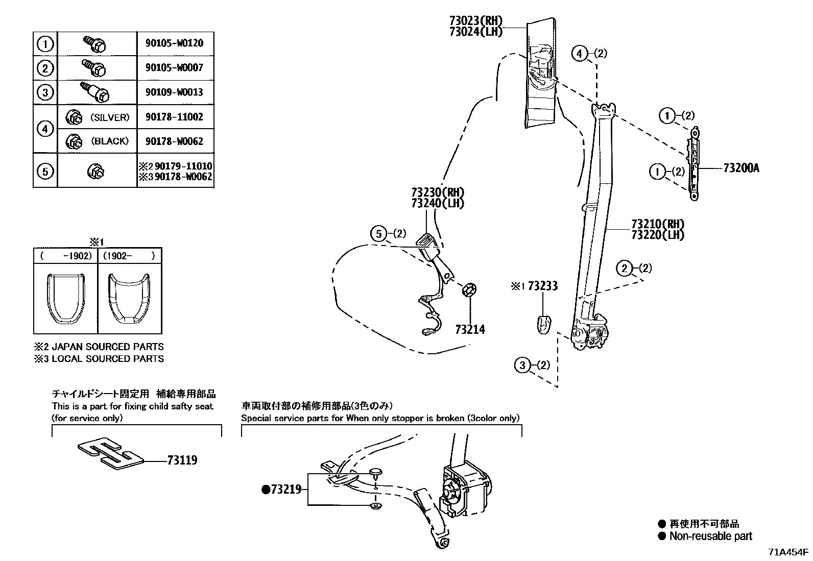
73023PLATE SUB-ASSY, FRONT SHOULDER BELT ANCHOR, RH
73024PLATE SUB-ASSY, FRONT SHOULDER BELT ANCHOR, LH
BLACK,TRIM2#,4#,8#
sub73024-02060
73119PLATE, SEAT BELT WEBBING CLIP
73200AADJUSTER ASSY, FRONT SHOULDER BELT ANCHOR
73210BELT ASSY, FRONT SEAT OUTER, RH
BLACK,TRIM2#
BLACK,TRIM2#,8#
BLACK,TRIM2#,4#
73214PLATE, FRONT SEAT BELT ANCHOR
73219STOPPER, TONGUE PLATE
BLACK
GRAY
BEIGE
73220BELT ASSY, FRONT SEAT OUTER, LH
main73220-F4010-C2iNGX10..(E,G,K)..EUR;ZYX10..LHD..(E,G,K);MAXH10,NGX50,ZGX10,ZYX11..E,G,K201805-202207
BLACK,TRIM2#
sub73220-F4010
sub73220-F4011
BLACK,TRIM2#,8#
BLACK,TRIM2#,4#
BLACK,TRIM2#
73230BELT ASSY, FRONT SEAT INNER, RH
BLACK,TRIM4#
BLACK,TRIM2#,8#
BLACK,TRIM2#
FRONT SEAT SLIDE-*DRS:POWER & *PAS:MANUAL,BLACK,TRIM2#,4#
FRONT SEAT SLIDE-*DRS:POWER & *PAS:MANUAL,BLACK,TRIM2#
BLACK,TRIM8#
73233COVER, LAP BELT OUTER ANCHOR
BLACK,TRIM2#
BLACK,TRIM2#
BLACK,TRIM2#
BLACK,TRIM2#,4#
BLACK,TRIM2#,8#
73240BELT ASSY, FRONT SEAT INNER, LH
BLACK,TRIM2#
sub73230-F4010
BLACK,TRIM2#
BLACK,TRIM8#
BLACK,TRIM2#,8#
FRONT SEAT SLIDE-*DRS:POWER & *PAS:MANUAL,BLACK,TRIM2#,4#
FRONT SEAT SLIDE-*DRS:POWER & *PAS:MANUAL,BLACK,TRIM2#
BLACK,TRIM4#
90105W0007
main90105-W0007
90105W0120
main90105-W0120
90109W0013
main90109-W0013
9017811002
main90178-11002
90178W0062
main90178-W0062
9017911010
main90179-11010
17 parts on this diagram · 2 diagrams in section